Качественные детали и логистика
Оригинальные и аналоговые запчасти с доставкой по России, Казахстану и Беларуси
©2022 PartSell ООО "Система" ИНН 2463123282 ОГРН 1212400004838
Центральный офис: г. Красноярск, Академика Киренского, д.87, пом.4
Телефон: 8 (800) 777-65-74 Email: zakaz@partsell.ru
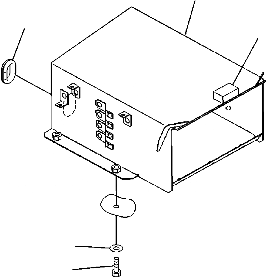
M-9 АККУМУЛЯТОРН. ОТСЕК БЕЗ АККУМУЛЯТОР DISCONNECT ПЕРЕКЛЮЧАТЕЛЬ
№
Артикул
Название
Примечание
Количество
1
22P-54-11631
COVER
2
22P-54-12910
SHEET, BONDED
3
120-06-24110
GROMMET
4
01010-81245
BOLT
5
175-54-34170
WASHER
Выбрано товаров: 0