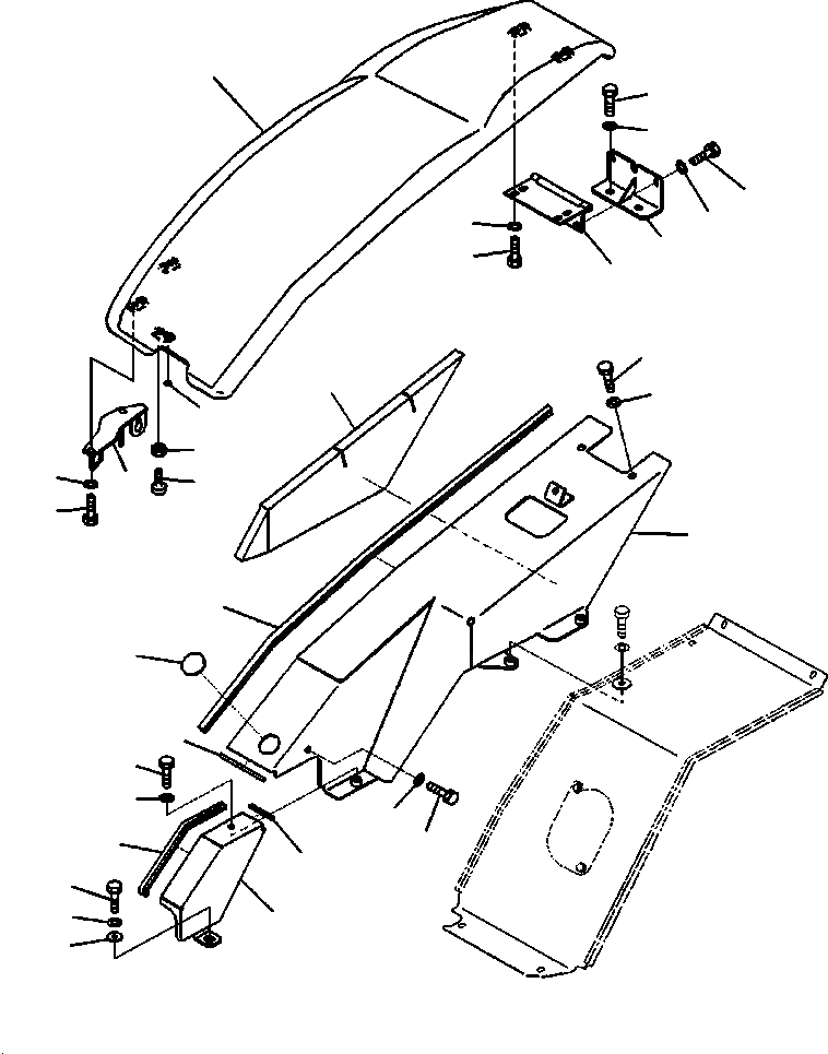
Запчасти Komatsu PC88MR-8 M- ПЕРЕДН. КРЫШКАPROVISION ДЛЯ НАСОС АВТОМАТИЧ. ЗАПРАВКИ ТОПЛИВА УСТАНОВКА - ГИДР. БАК. COVER ЧАСТИ КОРПУСА

Схема запчастей Komatsu PC88MR-8 - M- ПЕРЕДН. КРЫШКАPROVISION ДЛЯ НАСОС АВТОМАТИЧ. ЗАПРАВКИ ТОПЛИВА УСТАНОВКА - ГИДР. БАК. COVER ЧАСТИ КОРПУСА
1
14
15
12
4
13
11
3
2
20
19
21
10
9
7
8
5
6
16
18
32
17
28
29
23
25
22
26
30
31
24
27
FIT
1:1
100%

Артикул

Название

Примечание

Количество

1

22P-54-11411

COVER ASSEMBLY

2

22P-54-12671

HINGE

3

01010-81020

BOLT

4

01643-31032

WASHER

5

22P-54-11932

BRACKET

6

01010-81020

BOLT

7

01643-31032

WASHER

8

20Y-54-11611

STOPPER

9

01580-11008

NUT

10

124-911-5770

PLATE

11

22P-54-12141

BRACKET

12

01010-81030

BOLT

13

01643-31032

WASHER

14

01010-81240

BOLT

15

01643-31232

WASHER

16

22P-54-11811

COVER

17

21W-54-47431

SEAL

18

22P-54-12610

SEAL

19

22P-54-12491

SHEET, BONDED

20

01010-81225

BOLT

21

01643-31232

WASHER

22

01010-81250

BOLT

23

01643-31232

WASHER

24

22P-54-12171

COVER

25

22P-54-12631

SEAL

26

22P-54-12640

SEAL

27

203-54-55660

COLLAR

28

01010-81020

BOLT

29

01643-31032

WASHER

30

01010-81025

BOLT

31

01643-31032

WASHER

32

22U-54-15160

CAP

Выбрано товаров: 32