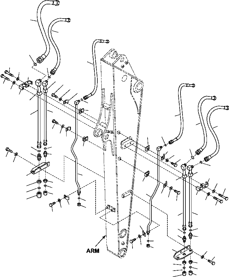
Запчасти Komatsu PC88MR-8 T- ГИДРОЛИНИЯ РУКОЯТЬ ( MM) ЛИНИЯ С ДОПОЛН. АКТУАТОРS РАБОЧЕЕ ОБОРУДОВАНИЕ

Схема запчастей Komatsu PC88MR-8 - T- ГИДРОЛИНИЯ РУКОЯТЬ ( MM) ЛИНИЯ С ДОПОЛН. АКТУАТОРS РАБОЧЕЕ ОБОРУДОВАНИЕ
2
22
21
31
25
30
26
24
27
40
41
6
37
7
5
8
34
36
23
4
31
1
22
40
34
36
41
37
21
20
30
36
37
11
41
28
40
16
17
30
27
24
33
15
26
9
28
36
25
11
30
32
21
29
37
5
18
41
34
7
40
37
6
35
39
38
23
3
37
20
30
10
28
34
35
14
39
12
38
13
28
10
30
20
29
19
FIT
1:1
100%

Артикул

Название

Примечание

Количество

1

02765-20410

HOSE, FACE SEAL TYPE

2

21W-973-4630

HOSE, L=1050 MM

3

22P-973-1331

TUBE

4

22P-973-1290

TUBE

5

203-973-5780

CLAMP

6

01010-81270

BOLT

7

01643-31232

WASHER

8

203-62-43380

CUSHION

9

203-62-43390

CUSHION

10

22P-62-12960

UNION

11

22P-62-12990

NIPPLE

12

22P-973-1120

BRACKET, LH

13

01010-81225

BOLT

14

01643-31232

WASHER

15

22P-973-1130

BRACKET, RH

16

01010-81225

BOLT

17

01643-31232

WASHER

18

02789-10628

PLUG, FACE SEAL TYPE

19

02789-10422

PLUG, FACE SEAL TYPE

20

02896-11012

O-RING

21

02896-11018

O-RING

22

02765-20410

HOSE, FACE SEAL TYPE

23

22P-973-1321

TUBE

24

203-973-5780

CLAMP

25

01010-81270

BOLT

26

01643-31232

WASHER

27

203-62-43390

CUSHION

28

22P-62-12960

UNION

29

02789-10422

PLUG, FACE SEAL TYPE

30

02896-11012

O-RING

31

02777-202A9

HOSE, FACE SEAL TYPE

32

22P-62-13430

TUBE

33

22P-62-13440

TUBE

34

02896-11008

O-RING

35

02789-10210

PLUG, FACE SEAL TYPE

36

22P-973-1341

BRACKET

37

20Y-62-K5780

CLAMP

38

01010-81020

BOLT

39

01643-31032

WASHER

40

01010-81045

BOLT

41

01643-31032

WASHER

Выбрано товаров: 41