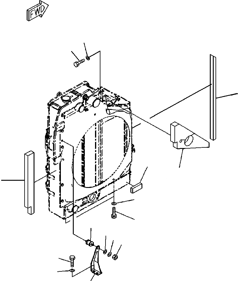
Запчасти Komatsu PC88MR-8 C- ОХЛАДИТЕЛЬ КРЕПЛЕНИЕ СИСТЕМА ОХЛАЖДЕНИЯ

Схема запчастей Komatsu PC88MR-8 - C- ОХЛАДИТЕЛЬ КРЕПЛЕНИЕ СИСТЕМА ОХЛАЖДЕНИЯ
11
10
13
12
15
14
2
1
3
7
6
5
8
9
4
FIT
1:1
100%

Артикул

Название

Примечание

Количество

1

01010-81230

BOLT. . . . . . . . . . . . . . . . .

2

01643-31232

WASHER

3

21W-03-31510

CUSHION

4

22P-03-11611

BRACKET

5

01580-10806

NUT

6

01643-30823

WASHER

7

175-61-23220

WASHER

8

01010-81025

BOLT

9

01643-31032

WASHER

10

01010-81230

BOLT

11

175-54-34170

WASHER

12

22P-03-11790

SHEET, BONDED

13

22P-03-11960

SHEET, BONDED

14

22P-03-11970

SHEET, BONDED

15

22P-03-11991

SHEET, BONDED

Выбрано товаров: 15