Запчасти Komatsu PC95-1 USA КЛАПАН PPC(ДЛЯ СТРЕЛЫ ПОВОРОТН.) УПРАВЛ-Е РАБОЧИМ ОБОРУДОВАНИЕМ

Схема запчастей Komatsu PC95-1 USA - КЛАПАН PPC(ДЛЯ СТРЕЛЫ ПОВОРОТН.) УПРАВЛ-Е РАБОЧИМ ОБОРУДОВАНИЕМ
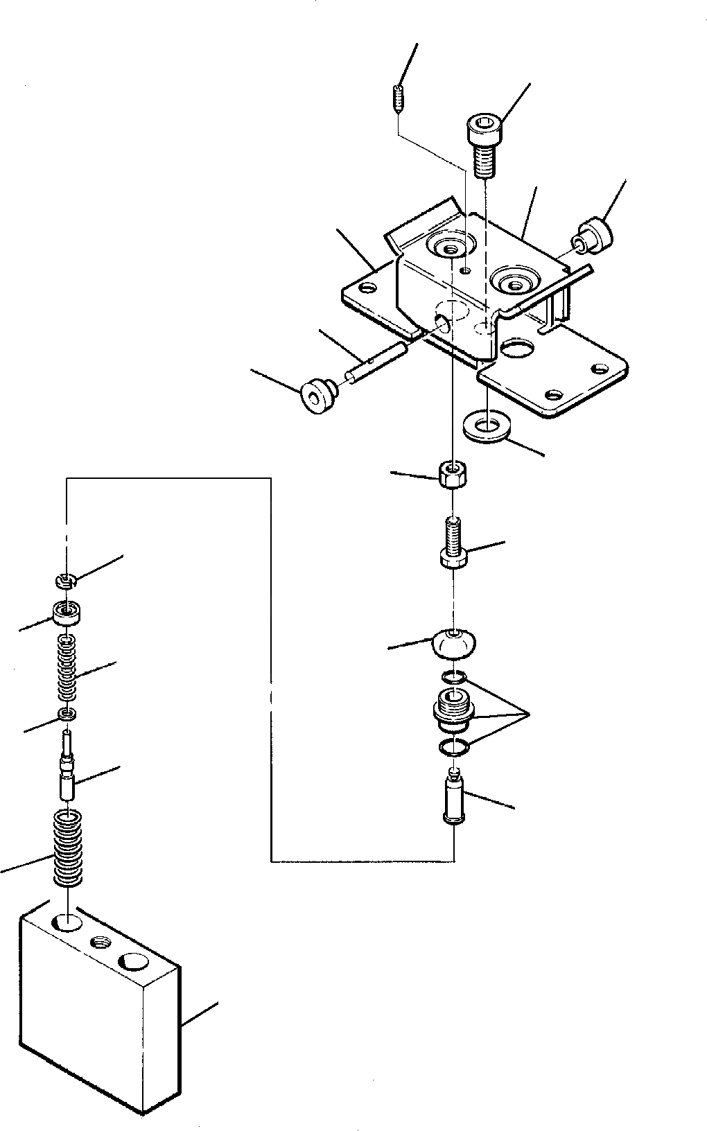
2
3
8
1
4
5
6
7
8
9
13
14
10
17
11
15
16
12
18
19
FIT
1:1
100%

Артикул

Название

Примечание

Количество

\0

21D-60-13400

PPC VALVE, ASSY.

1

21D-60-13410

PEDAL

2

21D-60-13290

DOWEL

3

01252-41220

SCREW

4

21D-60-13420

SUPPORT

5

21D-60-13330

PIN

6

21D-60-13340

BUSHING

7

21D-60-13350

WASHER

8

01580-10806

NUT

9

21D-60-13360

SCREW

\9

21D-60-13370

PISTON, ASSY.

10

BOOT

11

PAWL, ASSY.

12

PISTON

13

RING

14

SPRING GUIDE

15

SHIM 0.500 mm

15

SHIM 0.100 mm

15

SHIM 0.200 mm

16

SPOOL

17

21D-60-13380

SPRING

18

21D-60-13390

SPRING

19

BODY

Выбрано товаров: 23