Запчасти Komatsu PF3-1 АККУМУЛЯТОР И РЕЛЕ КОМПОНЕНТЫ ДВИГАТЕЛЯ И ЭЛЕКТРИКА

Схема запчастей Komatsu PF3-1 - АККУМУЛЯТОР И РЕЛЕ КОМПОНЕНТЫ ДВИГАТЕЛЯ И ЭЛЕКТРИКА
FIT
1:1
100%

Артикул

Название

Примечание

Количество

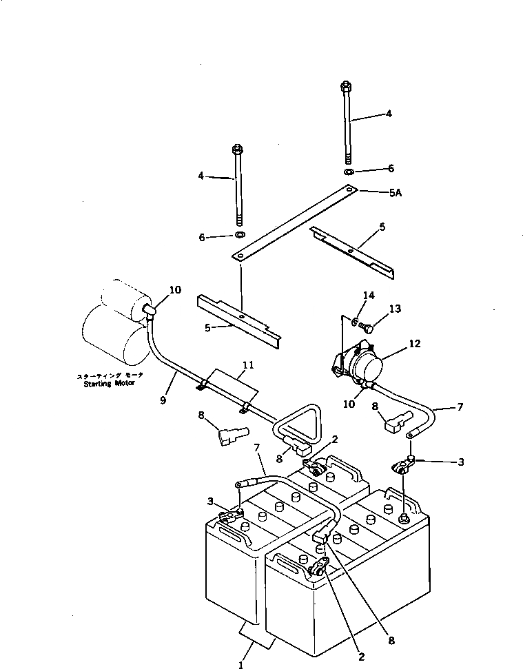
1

08000-32212

BATTERY (115E41R)

2

08000-00000

TERMINAL¤ (+)

3

08000-00001

TERMINAL¤ (-)

4

20D-06-41230

BOLT

5

203-06-41651

CLAMP

5A

202-966-1560

PLATE

6

01643-31232

WASHER

7

08028-12045

CABLE

8

08038-22009

CAP

9

203-06-41620

WIRE

10

08038-04030

CAP

11

08036-01414

CLIP

12

08088-10000

SWITCH,BATTERY RELAY

13

01010-50816

BOLT

14

01602-20825

WASHER,SPRING

Выбрано товаров: 15