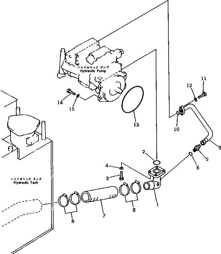
Запчасти Komatsu PF3-1 ГИДРОЛИНИЯ (ГИДР. НАСОС. ЛИНИЯ) УПРАВЛ-Е РАБОЧИМ ОБОРУДОВАНИЕМ

Схема запчастей Komatsu PF3-1 - ГИДРОЛИНИЯ (ГИДР. НАСОС. ЛИНИЯ) УПРАВЛ-Е РАБОЧИМ ОБОРУДОВАНИЕМ
FIT
1:1
100%

Артикул

Название

Примечание

Количество

1

203-62-42153

ELBOW

2

07000-02070

O-RING

3

01010-51235

BOLT

4

01643-51232

WASHER

5

07230-10628

UNION

6

07002-02434

O-RING

7

07260-27432

HOSE

8

07281-01029

CLAMP

9

203-62-42162

TUBE

10

07000-03028

O-RING

11

01010-51035

BOLT

12

01643-31032

WASHER

13

07000-05220

O-RING

14

01010-51445

BOLT

15

01643-31445

WASHER

16

07042-30211

PLUG

Выбрано товаров: 16