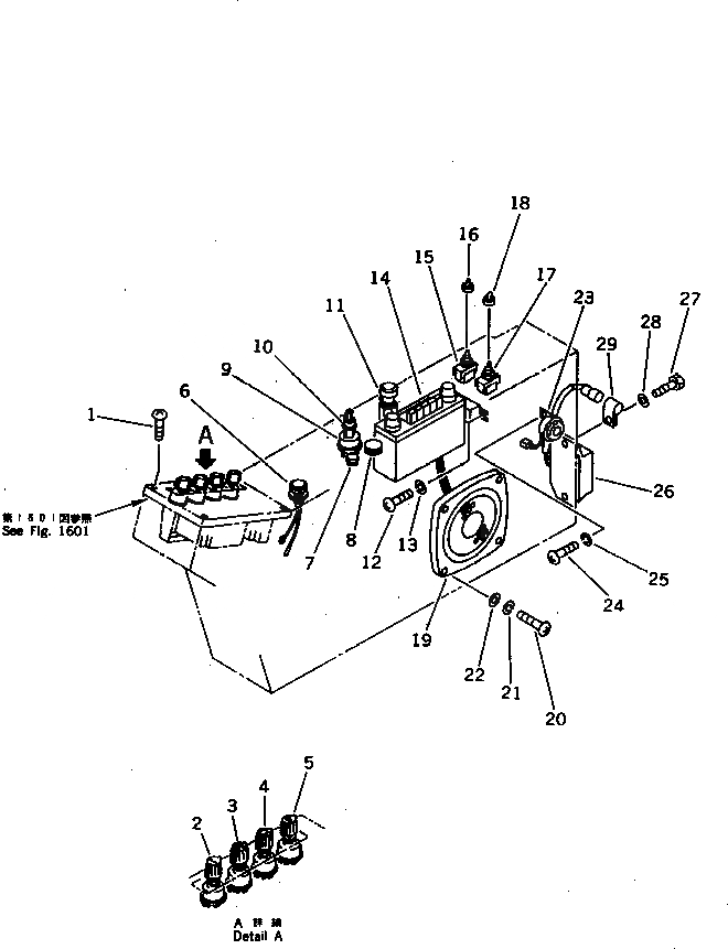
Запчасти Komatsu PF3-1 ПАНЕЛЬ ПРИБОРОВ (/) КОМПОНЕНТЫ ДВИГАТЕЛЯ И ЭЛЕКТРИКА

Схема запчастей Komatsu PF3-1 - ПАНЕЛЬ ПРИБОРОВ (/) КОМПОНЕНТЫ ДВИГАТЕЛЯ И ЭЛЕКТРИКА
FIT
1:1
100%

Артикул

Название

Примечание

Количество

1

01220-40616

SCREW

2

205-06-71311

SWITCH,MODE

3

205-06-71321

SWITCH,HEATER

4

205-06-71331

SWITCH,LAMP

5

205-06-71341

SWITCH,WIPER

6

203-06-41810

LAMP

7

09415-00706

CAP

8

09415-01610

CAP

9

201-06-21510

SWITCH,STARTER

10

205-26-91140

SPACER

11

203-06-41930

LIGHTER

12

01220-40412

SCREW

13

01601-20410

WASHER,SPRING

14

203-06-42110

RADIO

15

203-06-41570

SWITCH,PARKING LAMP

16

203-06-41680

CAP

17

203-06-41860

SWITCH,AUTO DECELERATION

18

203-06-41610

CAP

19

20G-06-15120

SPEAKER

20

01220-40420

SCREW

21

01601-20410

WASHER,SPRING

22

01641-20405

WASHER

23

203-06-41920

BUZZER

24

01010-50612

BOLT

|24

01220-40612

SCREW

25

01643-30623

WASHER

|25

01602-20619

WASHER,SPRING

26

203-06-41790

RESISTOR

27

01010-50816

BOLT

28

01643-30823

WASHER

29

08052-11711

CLIP

|29

08036-01814

CLIP

Выбрано товаров: 32