Запчасти Komatsu PF3-1 СОЕДИНИТЕЛЬН. ЗВЕНО(№8-) РАБОЧЕЕ ОБОРУДОВАНИЕ

Схема запчастей Komatsu PF3-1 - СОЕДИНИТЕЛЬН. ЗВЕНО(№8-) РАБОЧЕЕ ОБОРУДОВАНИЕ
FIT
1:1
100%

Артикул

Название

Примечание

Количество

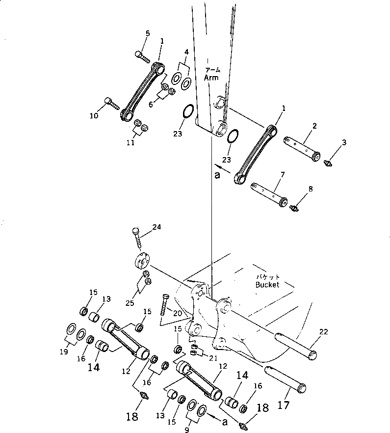
1

202-70-64121

LINK,L.H.

|1

202-70-64131

LINK,R.H.

2

202-70-64151

PIN

|2

202-70-64150

PIN

3

07020-00000

FITTING,GREASE

4

203-70-24150

SPACER¤ 1.0MM

|4

203-70-24160

SPACER¤ 2.0MM

5

01019-11620

BOLT

6

01580-11613

NUT

7

202-70-64161

PIN

|7

202-70-64160

PIN

8

07020-00000

FITTING,GREASE

9

202-70-48460

SPACER¤ 1.0MM

10

01019-11620

BOLT

11

01580-11613

NUT

|12

203-70-00542

LINK ASS'Y

12

LINK

13

203-70-56140

BUSHING

14

203-70-56160

BUSHING

15

07145-00065

SEAL,DUST

16

07145-00060

SEAL,DUST

17

203-70-44380

PIN

18

07020-00000

FITTING,GREASE

19

203-70-24150

SPACER¤ 1.0MM

|19

203-70-24160

SPACER¤ 2.0MM

20

01011-51640

BOLT

21

01580-11613

NUT

22

203-70-44380

PIN

23

203-70-44470

O-RING

24

01011-51670

BOLT

25

01580-11613

NUT

Выбрано товаров: 31