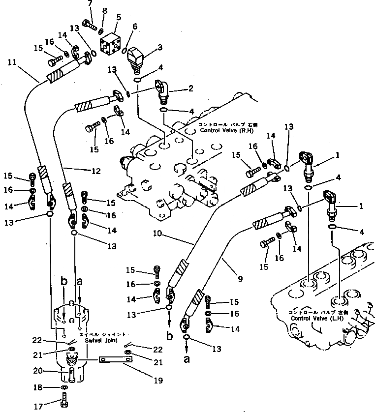
Запчасти Komatsu PF3-1 ГИДРОЛИНИЯ (УПРАВЛЯЮЩ. КЛАПАН - / FROM ПОВОРОТНОЕ СОЕДИНЕНИЕ) ХОД И КОНЕЧНАЯ ПЕРЕДАЧА

Схема запчастей Komatsu PF3-1 - ГИДРОЛИНИЯ (УПРАВЛЯЮЩ. КЛАПАН - / FROM ПОВОРОТНОЕ СОЕДИНЕНИЕ) ХОД И КОНЕЧНАЯ ПЕРЕДАЧА
FIT
1:1
100%

Артикул

Название

Примечание

Количество

1

203-62-42480

ELBOW

2

203-62-42490

ELBOW

3

202-966-5251

ELBOW

4

07002-12434

O-RING

5

202-966-5270

BLOCK

6

07000-13022

O-RING

7

01010-50860

BOLT

8

01643-50823

WASHER

9

202-966-5490

HOSE

10

202-966-5540

HOSE

11

202-966-5510

HOSE

12

202-966-5580

HOSE

13

07000-13022

O-RING

14

07371-30500

FLANGE,SPLIT

15

01010-50830

BOLT

16

01643-50823

WASHER

17

01010-51240

BOLT

18

01643-31232

WASHER

19

201-60-11240

LINK

20

201-60-11230

PIN

21

01641-21626

WASHER

22

04050-14025

PIN,COTTER

Выбрано товаров: 22