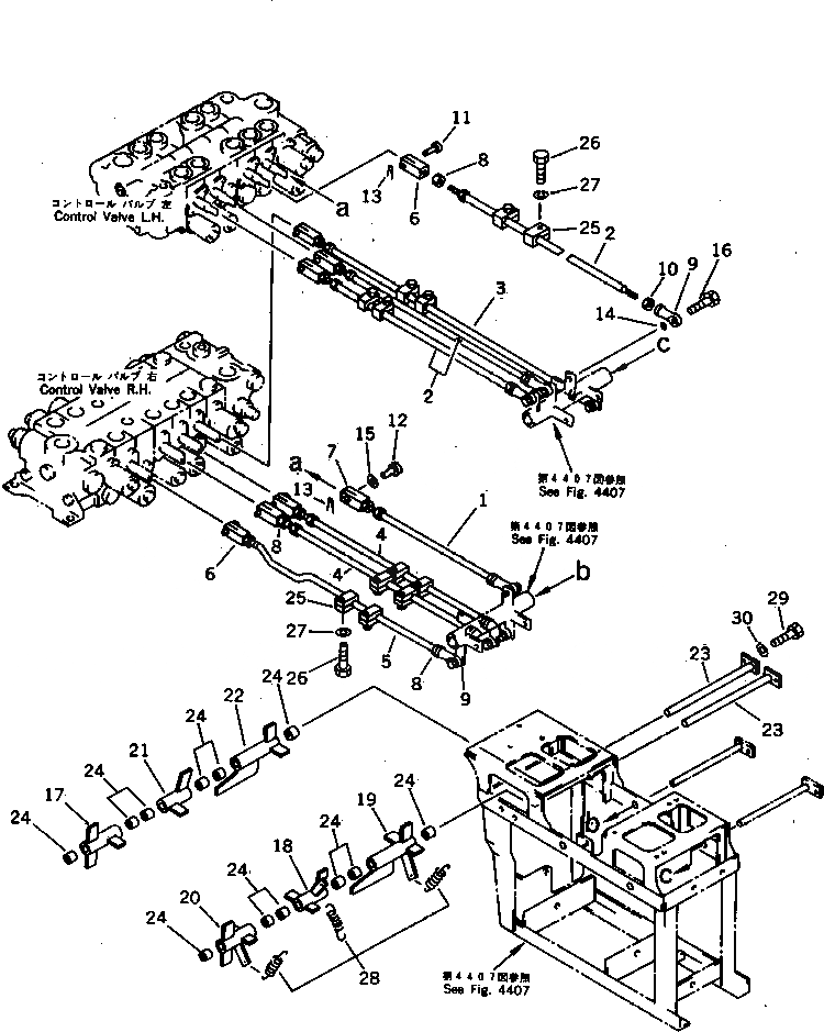
Запчасти Komatsu PF3-1 КЛАПАН МЕХ-М УПРАВЛ-Я (/)(№-.) ПОВОРОТН. И СИСТЕМА УПРАВЛЕНИЯ

Схема запчастей Komatsu PF3-1 - КЛАПАН МЕХ-М УПРАВЛ-Я (/)(№-.) ПОВОРОТН. И СИСТЕМА УПРАВЛЕНИЯ
FIT
1:1
100%

Артикул

Название

Примечание

Количество

1

04248-31036

ROD

2

203-43-41471

ROD

3

203-43-41491

ROD

4

203-43-42450

ROD

5

21K-43-21170

ROD

6

20T-43-22210

YOKE

7

203-43-41740

YOKE

8

01582-11008

NUT

9

04250-61056

END,ROD¤ L.H. THREAD

10

01508-41006

NUT,L.H. THREAD

11

04205-10822

PIN

12

04205-10825

PIN

13

04050-12012

PIN,COTTER

14

01643-31032

WASHER

15

01641-20812

WASHER

16

01010-51030

BOLT

17

203-43-42561

LEVER,R.H.

18

203-43-42611

LEVER,L.H.

19

203-43-42511

LEVER,L.H.

20

203-43-42551

LEVER,L.H.

21

203-43-42621

LEVER,R.H.

22

203-43-42521

LEVER,R.H.

23

203-43-42530

SHAFT

24

203-43-31420

BUSHING

25

203-43-42542

PLATE

26

01010-50825

BOLT

27

01643-50823

WASHER

|27

01602-20825

WASHER,SPRING

28

203-43-43230

SPRING

29

01010-51016

BOLT

30

01643-31032

WASHER

Выбрано товаров: 31