Запчасти Komatsu PF3-1 ОБОГРЕВАТЕЛЬ. ОСНОВНАЯ РАМА И КАБИНА

Схема запчастей Komatsu PF3-1 - ОБОГРЕВАТЕЛЬ. ОСНОВНАЯ РАМА И КАБИНА
FIT
1:1
100%

Артикул

Название

Примечание

Количество

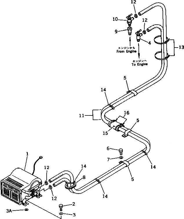
1

205-977-7110

HEATER ASS'Y

2

01010-51025

BOLT

3

01602-21030

WASHER,SPRING

3A

01643-31445

WASHER

4

203-977-4130

VALVE

5

176-911-4170

CLIP

6

01010-51020

BOLT

7

01602-21030

WASHER,SPRING

8

176-911-4160

GROMMET

9

20R-54-19150

JOINT

10

20R-54-19111

VALVE

11

09483-00436

HOSE

12

07281-00259

CLAMP

13

08034-00536

BAND

14

08034-00519

BAND

15

203-62-41150

COVER

16

08034-00519

BAND

Выбрано товаров: 17