Запчасти Komatsu PF3W-1 ПАНЕЛЬ ПРИБОРОВ (/) КОМПОНЕНТЫ ДВИГАТЕЛЯ И ЭЛЕКТРИКА

Схема запчастей Komatsu PF3W-1 - ПАНЕЛЬ ПРИБОРОВ (/) КОМПОНЕНТЫ ДВИГАТЕЛЯ И ЭЛЕКТРИКА
FIT
1:1
100%

Артикул

Название

Примечание

Количество

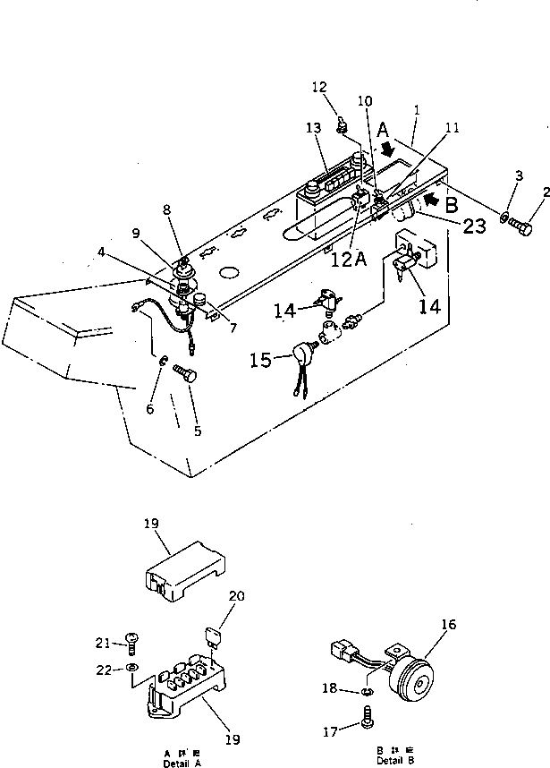
1

20D-06-41152

PANEL,INSTRUMENT

2

01010-50816

BOLT

3

01643-30823

WASHER

4

600-815-3730

SIGNAL,HEATER

5

01010-50610

BOLT

6

01602-20619

WASHER,SPRING

7

09415-01610

CAP

8

08086-20000

SWITCH,STARTING

9

205-26-91140

SPACER

10

203-06-41610

CAP

11

203-06-41860

SWITCH,AUTO DECELERATION

12

203-06-41680

CAP

12A

203-06-41860

SWITCH

13

20G-06-15112

RADIO

14

20G-68-11310

SWITCH,LOW PRESSURE

15

421-06-11570

SWITCH,LOW PRESSURE

16

175-06-51210

BUZZER

17

01220-40612

SCREW

18

01602-20619

WASHER,SPRING

19

205-06-71480

FUSE BOX

20

205-06-73180

FUSE¤ 15A

21

01220-40616

SCREW

22

01643-30623

WASHER

23

08034-00519

BAND

Выбрано товаров: 24