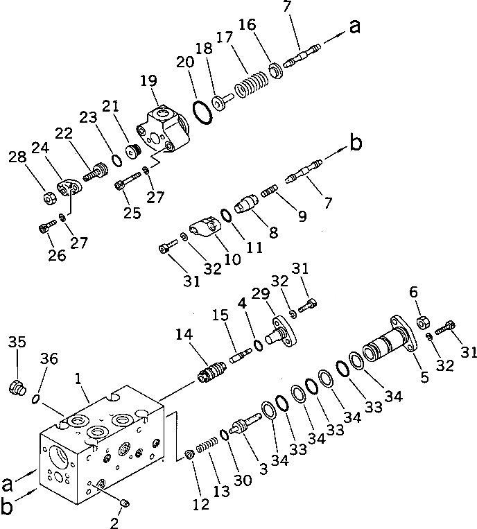
Запчасти Komatsu PF3W-1 CUT OFF И ENGATIVE УПРАВЛЯЮЩ. КЛАПАН¤ ЗАДН. (С OLSS) УПРАВЛ-Е РАБОЧИМ ОБОРУДОВАНИЕМ

Схема запчастей Komatsu PF3W-1 - CUT OFF И ENGATIVE УПРАВЛЯЮЩ. КЛАПАН¤ ЗАДН. (С OLSS) УПРАВЛ-Е РАБОЧИМ ОБОРУДОВАНИЕМ
FIT
1:1
100%

Артикул

Название

Примечание

Количество

|1

708-23-01070

PUMP ASS'Y (HPV55+55)

|1

708-23-07221

SERVO VALVE ASS'Y,REAR

|1

708-23-07621

VALVE ASS'Y,CO AND NC

|1

708-23-07032

BODY ASS'Y

1

BODY

2

EXPANDER

3

708-23-17260

PLUG

4

07000-02012

O-RING

5

708-25-17131

COVER

6

01580-10806

NUT

7

708-25-17141

SPOOL

8

708-23-17230

SLEEVE

9

708-23-17220

PISTON

10

708-25-17170

COVER

11

07000-02014

O-RING

12

708-25-17180

SEAT

13

708-23-17280

SPRING

14

708-25-17211

SLEEVE

15

708-25-17220

PISTON

16

708-25-17370

SEAT

17

708-25-17250

SPRING

18

708-25-17260

SEAT

19

708-23-17210

COVER

20

07000-03028

O-RING

21

708-23-17270

PISTON

22

708-23-17250

PLUG

23

07000-02021

O-RING

24

708-23-17240

COVER

25

706-75-40310

BOLT

26

708-25-15320

BOLT

27

01602-20619

WASHER,SPRING

28

01580-10806

NUT

29

708-25-17230

COVER

30

07000-02010

O-RING

31

708-25-15320

BOLT

32

01602-20619

WASHER,SPRING

33

07000-12021

O-RING

34

07001-02021

RING,BACK-UP

35

07040-11007

PLUG

36

07002-01023

O-RING

Выбрано товаров: 40