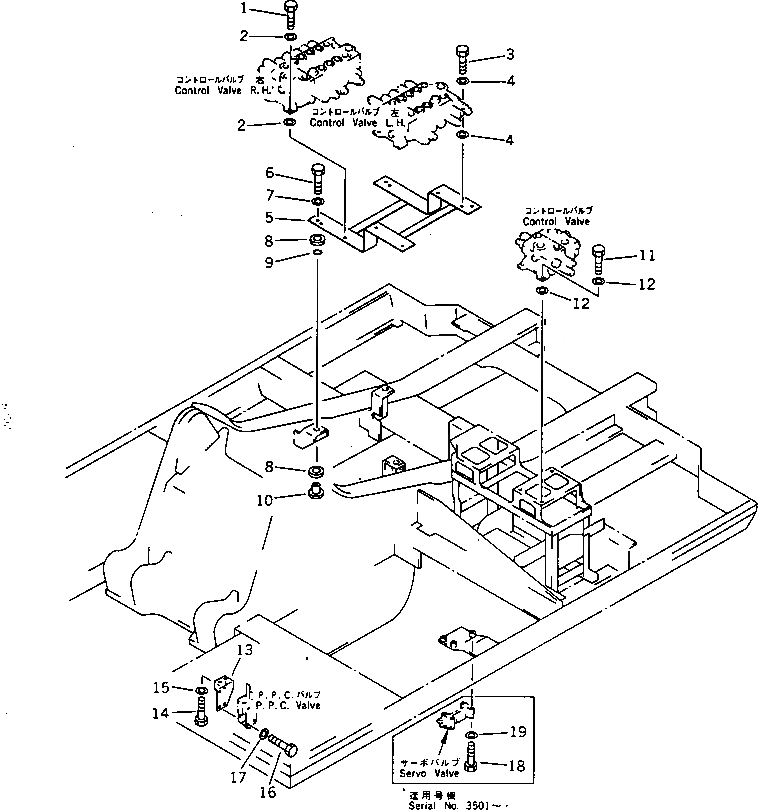
Запчасти Komatsu PF3W-1 УПРАВЛЯЮЩ. КЛАПАН КРЕПЛЕНИЕ УПРАВЛ-Е РАБОЧИМ ОБОРУДОВАНИЕМ

Схема запчастей Komatsu PF3W-1 - УПРАВЛЯЮЩ. КЛАПАН КРЕПЛЕНИЕ УПРАВЛ-Е РАБОЧИМ ОБОРУДОВАНИЕМ
FIT
1:1
100%

Артикул

Название

Примечание

Количество

1

01010-51225

BOLT

2

01643-31232

WASHER

3

01010-51225

BOLT

4

01643-31232

WASHER

5

22C-62-11710

BRACKET

6

01010-51235

BOLT

7

01643-31232

WASHER

8

203-62-42770

CUSHION

9

07000-03025

O-RING

10

203-62-42780

COLLAR

11

01010-51225

BOLT

12

01643-31232

WASHER

13

20D-60-41310

BRACKET

14

01010-51020

BOLT

15

01643-31032

WASHER

16

01010-50850

BOLT

17

01643-30823

WASHER

18

01010-50880

BOLT

19

01643-30823

WASHER

Выбрано товаров: 19