Запчасти Komatsu PF3W-1 ГЛАВН. ТРУБЫ (/) УПРАВЛ-Е РАБОЧИМ ОБОРУДОВАНИЕМ

Схема запчастей Komatsu PF3W-1 - ГЛАВН. ТРУБЫ (/) УПРАВЛ-Е РАБОЧИМ ОБОРУДОВАНИЕМ
FIT
1:1
100%

Артикул

Название

Примечание

Количество

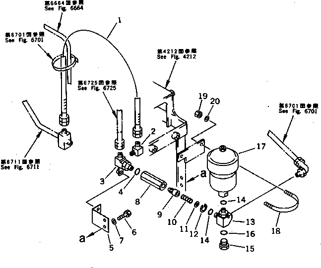
1

07102-20305

HOSE

2

144-865-6260

ELBOW

3

22C-62-13130

TEE

4

07002-02034

O-RING

5

22C-62-13140

BRACKET

6

01010-51025

BOLT

7

01643-31032

WASHER

|8

205-60-64300

CHECK VALVE ASS'Y

8

205-60-64290

BODY

9

205-60-51390

POPPET

10

205-60-51410

SPRING

11

205-60-51420

SEAT

12

04065-01410

RING

13

205-966-7460

TEE

14

07002-02034

O-RING

15

07040-12012

PLUG

16

07002-02034

O-RING

17

205-60-71152

ACCUMULATOR

18

07283-28973

CLIP

19

01599-01214

NUT

20

01643-31232

WASHER

Выбрано товаров: 21