Запчасти Komatsu PF3W-1 ГИДРОЛИНИЯ (МОТОР ПОВОРОТА И ПОВОРОТНОЕ СОЕДИНЕНИЕ) УПРАВЛ-Е РАБОЧИМ ОБОРУДОВАНИЕМ

Схема запчастей Komatsu PF3W-1 - ГИДРОЛИНИЯ (МОТОР ПОВОРОТА И ПОВОРОТНОЕ СОЕДИНЕНИЕ) УПРАВЛ-Е РАБОЧИМ ОБОРУДОВАНИЕМ
FIT
1:1
100%

Артикул

Название

Примечание

Количество

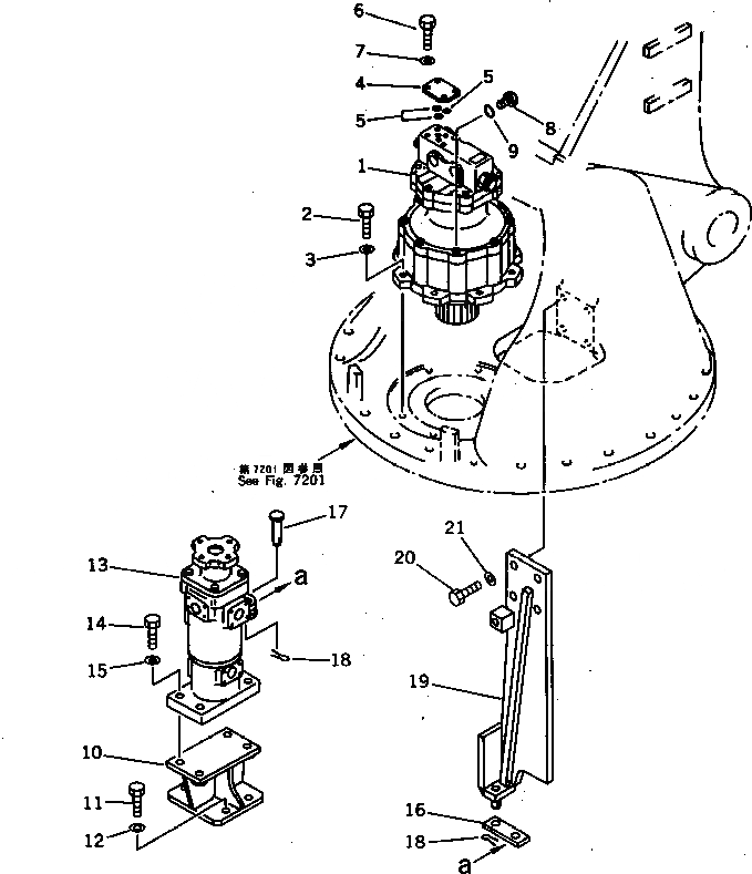
1

202-966-4911

MOTOR ASS'Y

|1

202-966-4910

MOTOR ASS'Y

2

01252-41645

BOLT

3

01643-51645

WASHER

4

205-966-5731

COVER

5

07000-11008

O-RING

6

01252-40516

BOLT

7

01641-20508

WASHER

8

07040-11409

PLUG

9

07002-01423

O-RING

10

202-966-7410

BRACKET

11

01010-51235

BOLT

12

01643-31232

WASHER

13

703-07-33202

SWIVEL JOINT ASS'Y,JOINT

14

01010-51240

BOLT

15

01643-31232

WASHER

16

202-966-6730

PLATE

17

201-60-11230

PIN

18

04050-14028

PIN,COTTER

19

202-966-7350

BRACKET

20

01010-51645

BOLT

21

01643-31645

WASHER

Выбрано товаров: 22