Запчасти Komatsu PF3W-1 ГИДРОЛИНИЯ (ЛИНИЯ ЦИЛИНДРА 2-Й СТРЕЛЫ) (ШАССИ) УПРАВЛ-Е РАБОЧИМ ОБОРУДОВАНИЕМ

Схема запчастей Komatsu PF3W-1 - ГИДРОЛИНИЯ (ЛИНИЯ ЦИЛИНДРА 2-Й СТРЕЛЫ) (ШАССИ) УПРАВЛ-Е РАБОЧИМ ОБОРУДОВАНИЕМ
FIT
1:1
100%

Артикул

Название

Примечание

Количество

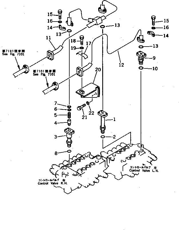
1

203-62-42450

FLANGE

2

07002-12434

O-RING

|3

202-966-5160

VALVE ASS'Y

3

202-966-5170

FLANGE

4

203-60-21250

POPPET

5

203-60-21260

SPRING

6

203-60-21270

SEAT

7

04065-02212

RING,SNAP

8

07002-12434

O-RING

9

203-62-42430

FLANGE

10

07002-12434

O-RING

11

22C-62-11521

TUBE

12

22C-62-11530

TUBE

13

07002-13022

O-RING

14

07371-30500

FLANGE,SPLIT

15

01010-50830

BOLT

16

01643-50823

WASHER

17

20X-62-23160

CLAMP

18

01010-51025

BOLT

19

01643-31032

WASHER

20

22C-62-11510

BRACKET

21

01010-51235

BOLT

22

01643-31232

WASHER

Выбрано товаров: 23