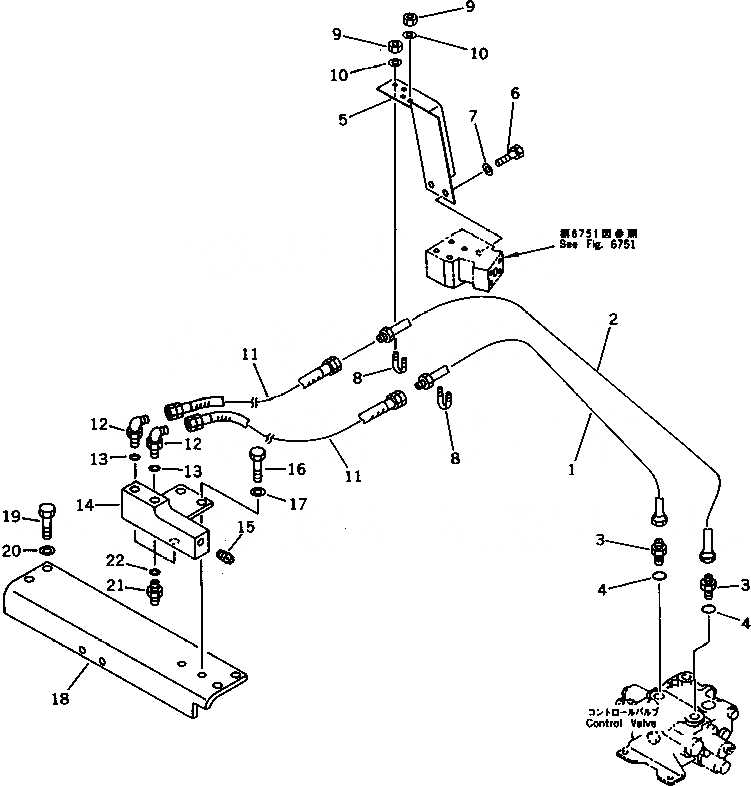
Запчасти Komatsu PF3W-1 ГИДРОЛИНИЯ (РУКОЯТЬ ВРАЩЕНИЕ ЛИНИЯ) (ШАССИ) УПРАВЛ-Е РАБОЧИМ ОБОРУДОВАНИЕМ

Схема запчастей Komatsu PF3W-1 - ГИДРОЛИНИЯ (РУКОЯТЬ ВРАЩЕНИЕ ЛИНИЯ) (ШАССИ) УПРАВЛ-Е РАБОЧИМ ОБОРУДОВАНИЕМ
FIT
1:1
100%

Артикул

Название

Примечание

Количество

1

202-966-5391

TUBE

2

202-966-5411

TUBE

3

114-62-23110

NIPPLE

4

07002-12434

O-RING

5

202-966-5210

BRACKET

6

01010-51225

BOLT

7

01643-31232

WASHER

8

07283-21529

CLIP

9

01598-00809

NUT

10

01643-30823

WASHER

11

07096-00305

HOSE

12

07235-10315

ELBOW

13

07002-12034

O-RING

14

22C-62-11611

BLOCK

15

07042-30211

PLUG

16

01010-51235

BOLT

17

01643-31232

WASHER

18

22C-62-11460

BRACKET

19

01010-51240

BOLT

20

01643-31232

WASHER

21

07230-20315

UNION

22

07002-12034

O-RING

Выбрано товаров: 22