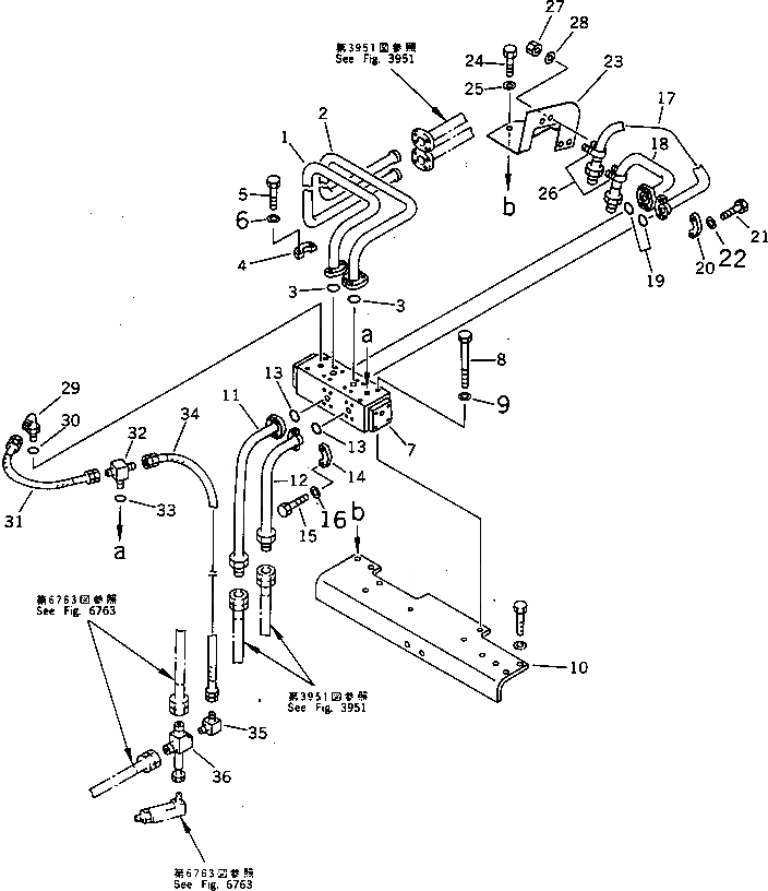
Запчасти Komatsu PF3W-1 ГИДРОЛИНИЯ (ДЛЯ TS CLUSHER) УПРАВЛ-Е РАБОЧИМ ОБОРУДОВАНИЕМ

Схема запчастей Komatsu PF3W-1 - ГИДРОЛИНИЯ (ДЛЯ TS CLUSHER) УПРАВЛ-Е РАБОЧИМ ОБОРУДОВАНИЕМ
FIT
1:1
100%

Артикул

Название

Примечание

Количество

1

22C-62-12120

TUBE

2

22C-62-12130

TUBE

3

07000-13022

O-RING

4

07371-30500

FLANGE,SPLIT

5

01010-50830

BOLT

6

01643-50823

WASHER

7

20G-60-12130

VALVE ASS'Y

8

01011-51000

BOLT

9

01643-31032

WASHER

10

22C-62-12110

BRACKET

11

22C-62-12141

TUBE

12

22C-62-12151

TUBE

13

07000-13022

O-RING

14

07371-30500

FLANGE,SPLIT

15

01010-50830

BOLT

16

01643-50823

WASHER

17

22C-62-12160

TUBE

18

22C-62-12170

TUBE

19

07000-13022

O-RING

20

07371-30500

FLANGE,SPLIT

21

01010-50830

BOLT

22

01643-50823

WASHER

23

22C-62-12180

BRACKET

24

01010-51235

BOLT

25

01643-31232

WASHER

26

07238-22236

CONNECTOR

27

01599-01011

NUT

28

01643-31032

WASHER

29

07235-10210

ELBOW

30

07002-11423

O-RING

31

07102-20203

HOSE

32

208-26-11611

TEE

33

07002-11423

O-RING

34

07102-20206

HOSE

35

203-62-42920

ELBOW

36

22C-62-13730

TUBE

Выбрано товаров: 36