Запчасти Komatsu PF3W-1 ВЕРХН. ВОЗДУХОВОД (ВОЗД. БАЛЛОН КОМПОНЕНТЫ) УПРАВЛ-Е РАБОЧИМ ОБОРУДОВАНИЕМ

Схема запчастей Komatsu PF3W-1 - ВЕРХН. ВОЗДУХОВОД (ВОЗД. БАЛЛОН КОМПОНЕНТЫ) УПРАВЛ-Е РАБОЧИМ ОБОРУДОВАНИЕМ
FIT
1:1
100%

Артикул

Название

Примечание

Количество

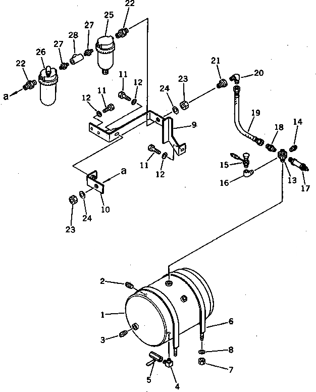
1

20G-68-11110

RESERVOIR

2

07042-30617

PLUG

3

07042-70415

PLUG

4

20D-68-11670

ELBOW

5

07700-40240

VALVE

6

20D-68-41730

BAND

7

01580-11008

NUT

8

01643-31032

WASHER

9

20D-68-41681

BRACKET

10

20D-68-41720

PLATE

11

01010-51020

BOLT

12

01643-31032

WASHER

13

20G-68-13190

TEE

14

07042-10211

PLUG

15

22W-44-11661

SWITCH,LOW PRESSURE

16

07323-30200

ELBOW

17

07815-00209

VALVE ASS'Y,SAFETY

18

20D-68-12150

NIPPLE

19

20G-68-13130

HOSE

20

281-35-13290

ELBOW

21

07326-10302

ADAPTER

22

07830-10424

NIPPLE

23

01582-12419

NUT

24

01643-32460

WASHER

25

07811-20400

FILTER

26

07814-20400

LUBRICATOR

27

07325-10400

NIPPLE

28

07324-10400

TEE

Выбрано товаров: 0