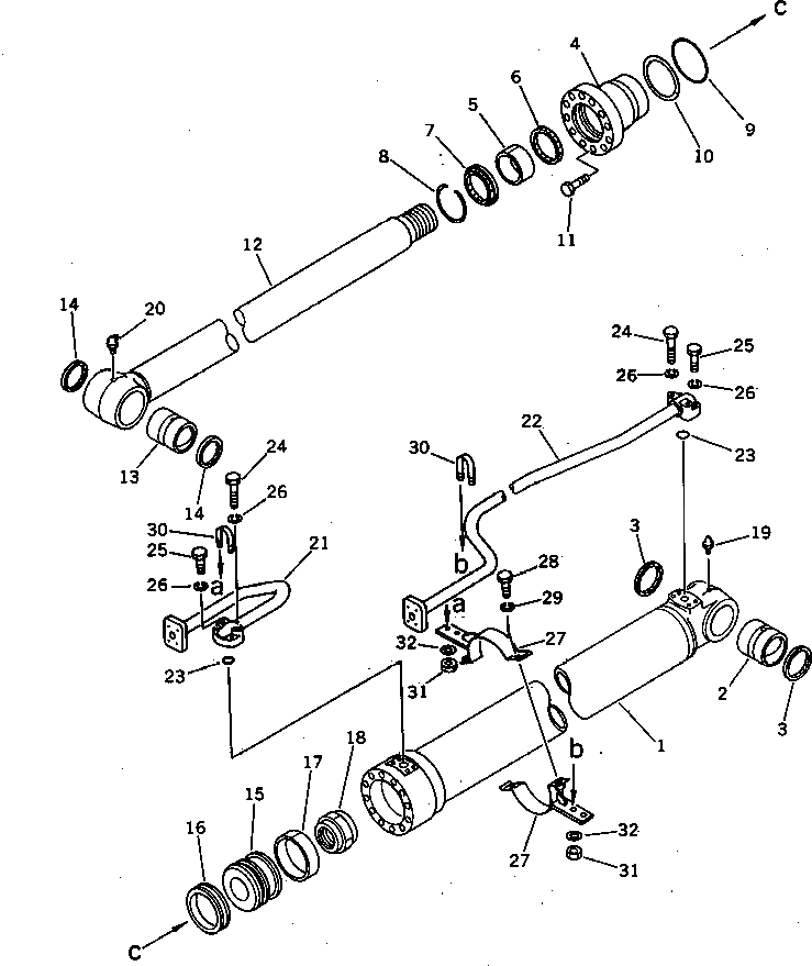
Запчасти Komatsu PF3W-1 ЦИЛИНДР 2-Й СТРЕЛЫ РАБОЧЕЕ ОБОРУДОВАНИЕ

Схема запчастей Komatsu PF3W-1 - ЦИЛИНДР 2-Й СТРЕЛЫ РАБОЧЕЕ ОБОРУДОВАНИЕ
FIT
1:1
100%

Артикул

Название

Примечание

Количество

G-1

202-63-X7030

BOOM CYLINDER GROUP

|1

202-63-07030

CYLINDER ASS'Y,2ND BOOM

1

202-63-92340

CYLINDER

2

707-76-70110

BUSHING

3

07145-00070

SEAL,DUST

4

707-27-12470

HEAD,CYLINDER

5

707-52-10850

BUSHING

6

707-51-85211

PACKING,ROD

7

07016-20858

SEAL,DUST

8

07179-13099

RING,SNAP

9

07000-12115

O-RING

10

707-35-91211

RING,BACK-UP

11

01010-51655

BOLT

12

202-63-92320

ROD,PISTON

13

707-76-80010

BUSHING

14

07145-00080

SEAL,DUST

15

707-36-12361

PISTON

16

707-44-12080

RING,PISTON

17

07155-01230

RING,WEAR

18

707-68-10580

NUT

19

07020-00000

FITTING,GREASE

20

07020-00675

FITTING,GREASE

21

202-966-6161

TUBE

22

202-966-6151

TUBE

23

07000-13030

O-RING

24

01010-50855

BOLT

25

01010-50845

BOLT

26

01602-20825

WASHER,SPRING

27

202-966-6191

BRACKET

28

01010-51035

BOLT

29

01602-21030

WASHER,SPRING

30

07283-22236

CLIP

31

01599-01011

NUT

32

01643-31032

WASHER

Выбрано товаров: 34