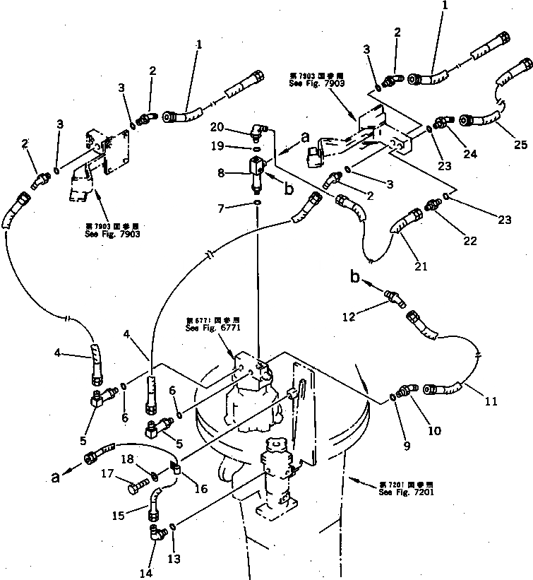
Запчасти Komatsu PF3W-1 ГИДРОЛИНИЯ (РУКОЯТЬ ВРАЩЕНИЕ ЛИНИЯ) (/) (HOE ) РАБОЧЕЕ ОБОРУДОВАНИЕ

Схема запчастей Komatsu PF3W-1 - ГИДРОЛИНИЯ (РУКОЯТЬ ВРАЩЕНИЕ ЛИНИЯ) (/) (HOE ) РАБОЧЕЕ ОБОРУДОВАНИЕ
FIT
1:1
100%

Артикул

Название

Примечание

Количество

1

07086-20311

HOSE

2

07236-10315

ELBOW

3

07002-12034

O-RING

4

07086-00308

HOSE

5

20R-62-11360

ELBOW

6

07002-12034

O-RING

7

07002-01423

O-RING

8

202-966-6761

ELBOW

9

07002-01423

O-RING

10

07236-10210

ELBOW

11

07102-20204

HOSE

12

22W-44-13530

ELBOW

13

07002-01423

O-RING

14

07235-10210

ELBOW

15

202-966-7340

HOSE

16

120-40-31230

CLIP

17

01010-51225

BOLT

18

01643-31232

WASHER

19

07002-02034

O-RING

20

07235-10315

ELBOW

21

07102-20306

HOSE

22

07230-20315

UNION

23

07002-12034

O-RING

24

07236-10315

ELBOW

25

07103-20311

HOSE

Выбрано товаров: 25