Запчасти Komatsu PF3W-1 ШАССИ (/) ШАССИ¤ ТРАНСМИССИЯ¤ МОСТ¤ КОЛЕСА И ВОЗД. СИСТЕМА

Схема запчастей Komatsu PF3W-1 - ШАССИ (/) ШАССИ¤ ТРАНСМИССИЯ¤ МОСТ¤ КОЛЕСА И ВОЗД. СИСТЕМА
FIT
1:1
100%

Артикул

Название

Примечание

Количество

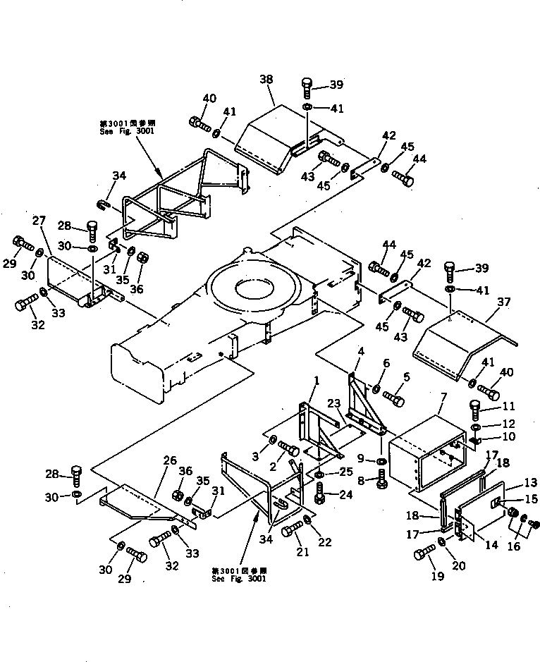
1

20D-47-41830

BRACKET

2

01010-51225

BOLT

3

01643-31232

WASHER

4

20D-47-41840

BRACKET

5

01010-51225

BOLT

6

01643-31232

WASHER

7

20D-47-41810

BOX

8

01010-51225

BOLT

9

01643-31232

WASHER

10

203-54-52620

PLATE

11

01010-51020

BOLT

12

01643-31032

WASHER

13

20D-47-41820

COVER

14

203-54-52240

HINGE (WELDED)

15

421-54-11372

LOCK ASS'Y,R.H.

16

421-54-11381

LOCK

17

20D-47-41880

SEAL

18

20D-47-41890

SEAL

19

01010-51020

BOLT

20

01643-31032

WASHER

21

01010-51230

BOLT

22

01643-31232

WASHER

23

20D-47-41850

COVER

24

01010-51025

BOLT

25

01643-31032

WASHER

26

20D-47-41522

FENDER,FRONT¤ L.H.

27

20D-47-41532

FENDER,FRONT¤ R.H.

28

01010-51230

BOLT

29

01010-51225

BOLT

30

01643-31232

WASHER

31

20D-47-41490

BRACKET

32

01010-51225

BOLT

33

01643-31232

WASHER

34

07283-22738

CLIP

35

01643-31032

WASHER

36

01599-01011

NUT

37

20D-47-41571

FENDER,REAR¤ L.H.

38

20D-47-41581

FENDER,REAR¤ R.H.

39

01010-51230

BOLT

40

01010-51225

BOLT

41

01643-31232

WASHER

42

20D-47-41480

PLATE

43

01010-51230

BOLT

44

01010-51225

BOLT

45

01643-31232

WASHER

Выбрано товаров: 45