Запчасти Komatsu PF3W-1 ШАССИ (/) ШАССИ¤ ТРАНСМИССИЯ¤ МОСТ¤ КОЛЕСА И ВОЗД. СИСТЕМА

Схема запчастей Komatsu PF3W-1 - ШАССИ (/) ШАССИ¤ ТРАНСМИССИЯ¤ МОСТ¤ КОЛЕСА И ВОЗД. СИСТЕМА
FIT
1:1
100%

Артикул

Название

Примечание

Количество

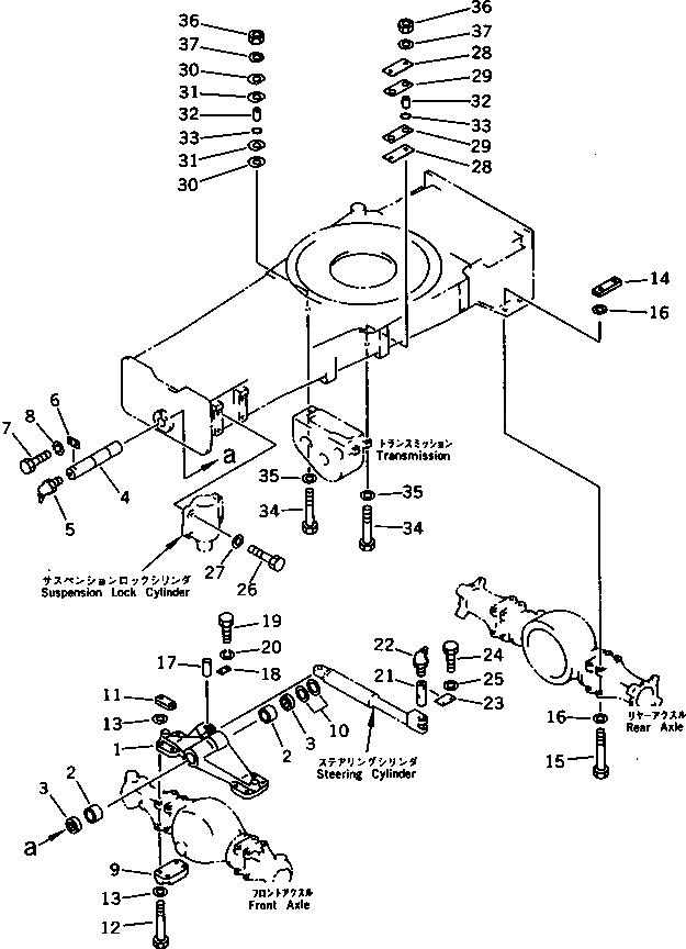
|1

22C-47-00010

BRACKET ASS'Y

1

BRACKET

2

20G-47-12130

BUSHING

3

07145-00075

SEAL

4

20G-47-12120

PIN

5

07020-00675

FITTING,GREASE

6

04082-00514

LOCK

7

01010-51435

BOLT

8

01602-21442

WASHER,SPRING

9

22C-47-11170

SPACER

10

202-70-48140

SPACER¤ 1.0MM

|10

202-70-48150

SPACER¤ 0.5MM

11

20G-47-11220

SEAT

12

22C-09-11110

BOLT

13

01643-32060

WASHER

14

20D-47-41590

SEAT

15

22C-09-11120

BOLT

16

01643-32060

WASHER

17

20G-47-12140

PIN

18

04082-00212

LOCK

19

01010-51225

BOLT

20

01602-21236

WASHER,SPRING

21

20D-47-41681

PIN

22

07020-00675

FITTING,GREASE

23

20D-47-41691

PLATE

24

01010-51230

BOLT

25

01643-31232

WASHER

26

01010-52490

BOLT

27

01643-32460

WASHER

28

20D-47-41330

PLATE

29

20D-47-41340

CUSHION

30

20D-47-41360

PLATE

31

20D-47-41370

CUSHION

32

20D-47-41351

COLLAR

33

07000-03032

O-RING

34

01011-52065

BOLT

35

01643-32060

WASHER

36

01580-12016

NUT

37

01643-32060

WASHER

Выбрано товаров: 39