Запчасти Komatsu PF3W-1 НИЖН. ВОЗДУХОВОД (ПОДВЕСКА БЛОКИР. И СТОЯНОЧНЫЙ ТОРМОЗ) ШАССИ¤ ТРАНСМИССИЯ¤ МОСТ¤ КОЛЕСА И ВОЗД. СИСТЕМА

Схема запчастей Komatsu PF3W-1 - НИЖН. ВОЗДУХОВОД (ПОДВЕСКА БЛОКИР. И СТОЯНОЧНЫЙ ТОРМОЗ) ШАССИ¤ ТРАНСМИССИЯ¤ МОСТ¤ КОЛЕСА И ВОЗД. СИСТЕМА
FIT
1:1
100%

Артикул

Название

Примечание

Количество

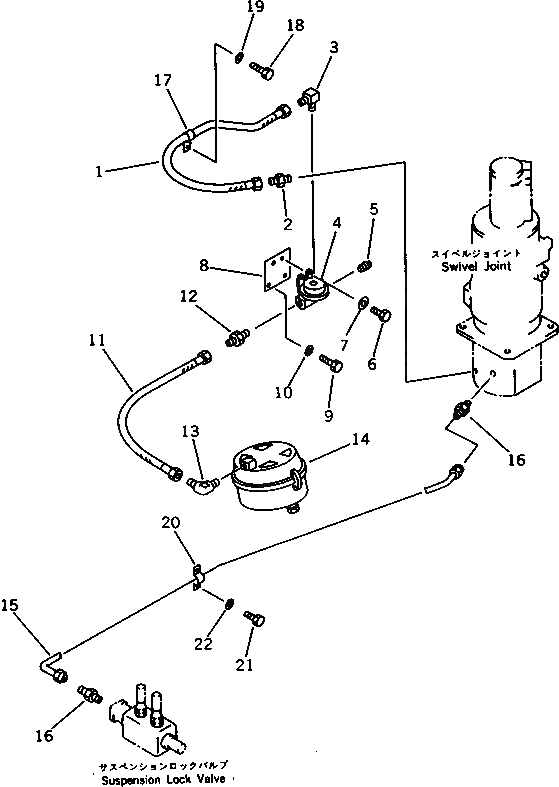
1

20D-68-12680

HOSE

2

20D-68-12150

NIPPLE

3

20D-68-11780

ELBOW

4

281-34-12501

VALVE ASS'Y,RELIESE

5

07042-30312

PLUG

6

01010-50820

BOLT

7

01643-30823

WASHER

8

20D-68-41810

PLATE

9

01010-51030

BOLT

10

01643-31032

WASHER

11

20D-68-12680

HOSE

12

20G-68-12690

NIPPLE

13

20D-68-41370

ELBOW

14

20G-68-11221

CHAMBER

15

20D-68-41161

TUBE

16

07213-51013

CONNECTOR

17

08036-01414

CLIP

18

01010-51016

BOLT

19

01643-31032

WASHER

20

07282-01048

CLAMP

21

01010-50612

BOLT

22

01602-20619

WASHER,SPRING

23

08034-00519

BAND

Выбрано товаров: 23