Запчасти Komatsu PF3W-1 ОПОРА ГИДРОЛИНИЯ (НИЖН.) (ЛЕВ.¤ ПРАВ. ПРИВОДED MOVEMENT) ШАССИ¤ ТРАНСМИССИЯ¤ МОСТ¤ КОЛЕСА И ВОЗД. СИСТЕМА

Схема запчастей Komatsu PF3W-1 - ОПОРА ГИДРОЛИНИЯ (НИЖН.) (ЛЕВ.¤ ПРАВ. ПРИВОДED MOVEMENT) ШАССИ¤ ТРАНСМИССИЯ¤ МОСТ¤ КОЛЕСА И ВОЗД. СИСТЕМА
FIT
1:1
100%

Артикул

Название

Примечание

Количество

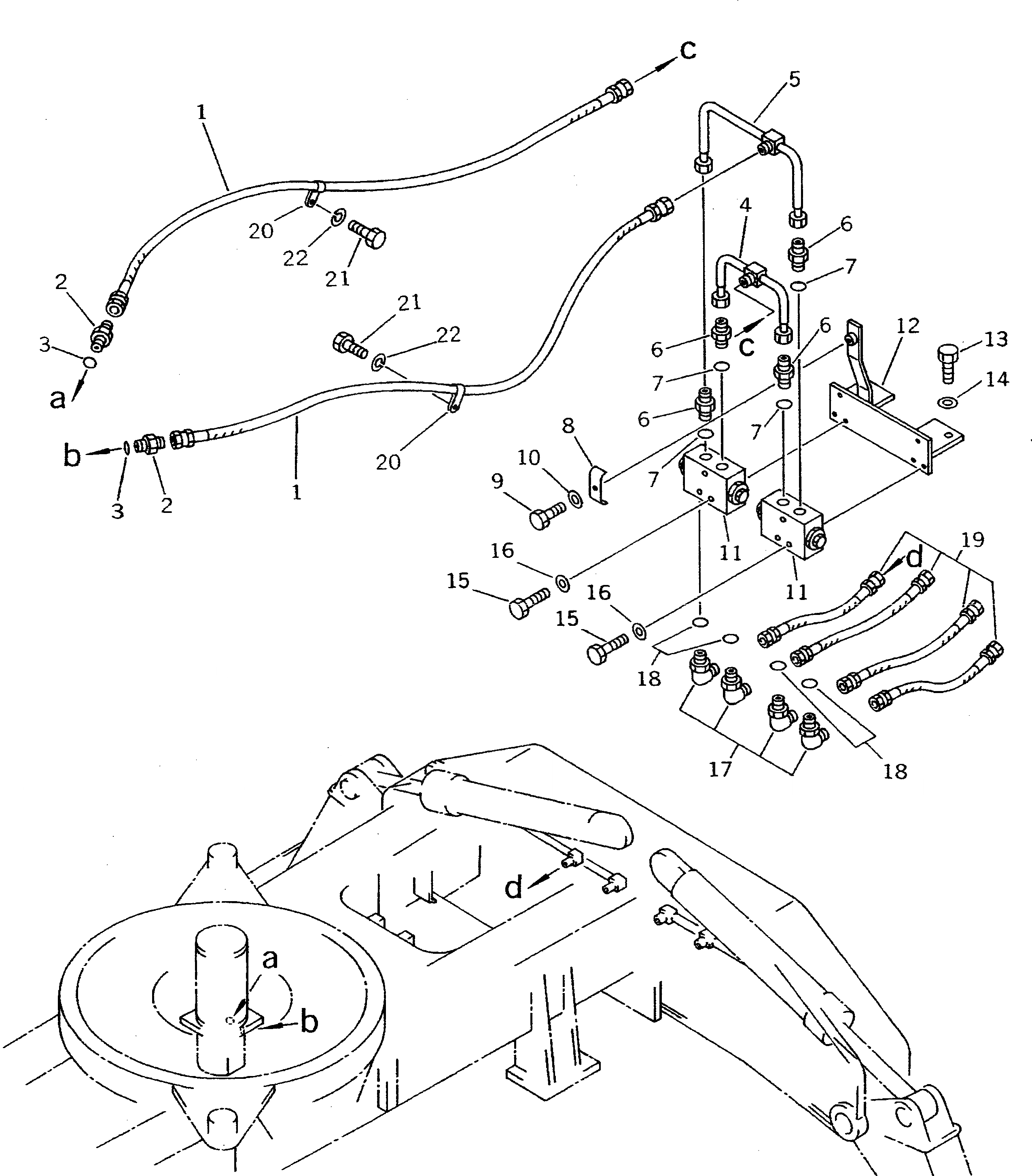
1

07096-00313

HOSE

2

07230-10315

UNION

3

07002-12034

O-RING

4

20D-62-48120

TUBE

5

20D-62-48130

TUBE

6

07230-20315

UNION

7

07002-12034

O-RING

8

130-62-71350

CLAMP

9

01010-51020

BOLT

10

01643-31032

WASHER

11

20S-60-12120

CHECK VALVE ASS'Y

12

20D-47-48110

BRACKET

13

01010-51225

BOLT

14

01643-31232

WASHER

15

01010-50860

BOLT

16

01643-30823

WASHER

17

07235-10315

ELBOW

18

07002-12034

O-RING

19

07096-00304

HOSE

20

08036-02514

CLIP

21

01010-51025

BOLT

22

01643-31032

WASHER

Выбрано товаров: 22