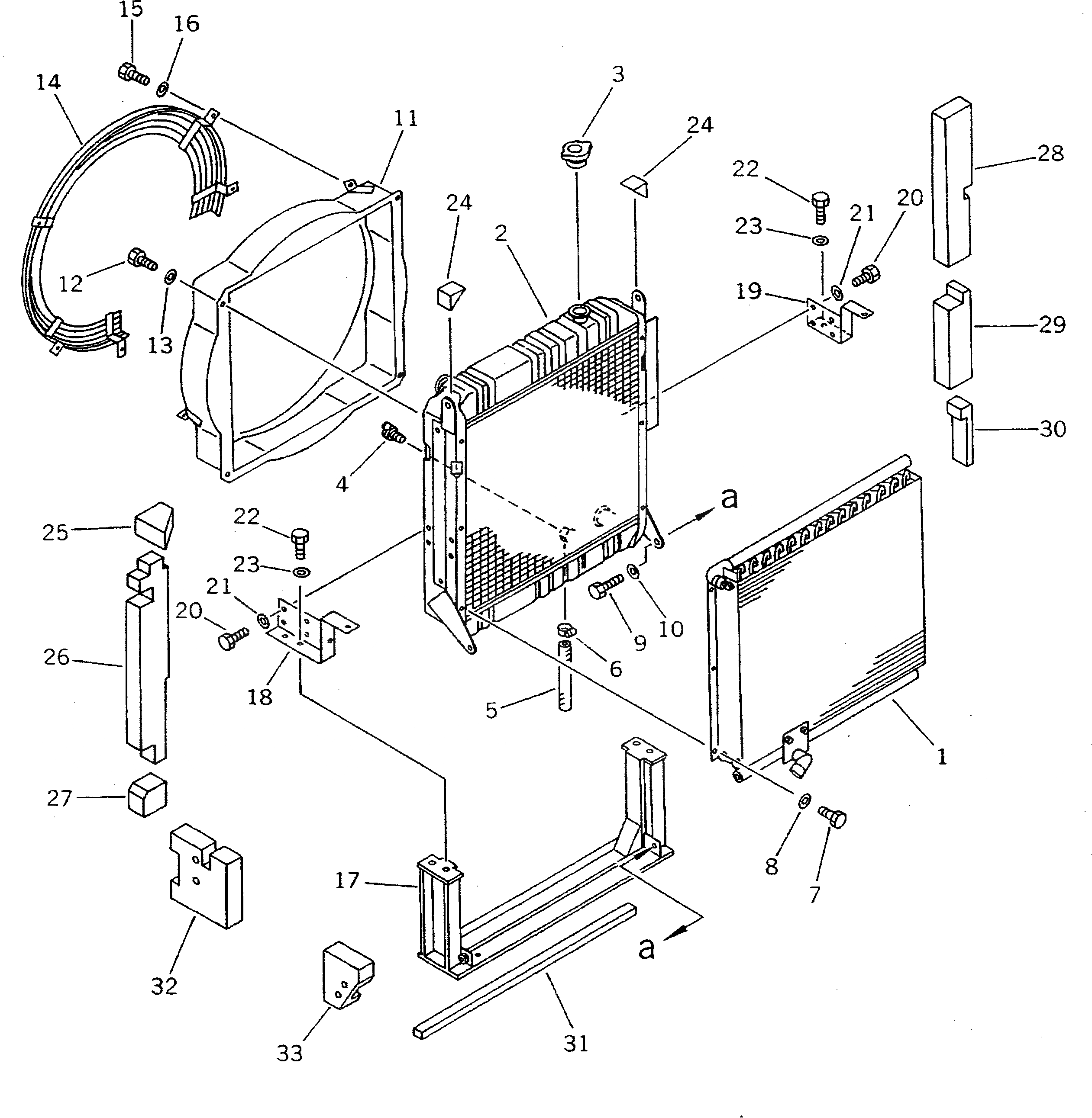
Запчасти Komatsu PF3W-1 РАДИАТОР И МАСЛООХЛАДИТЕЛЬ КОМПОНЕНТЫ ДВИГАТЕЛЯ И ЭЛЕКТРИКА

Схема запчастей Komatsu PF3W-1 - РАДИАТОР И МАСЛООХЛАДИТЕЛЬ КОМПОНЕНТЫ ДВИГАТЕЛЯ И ЭЛЕКТРИКА
FIT
1:1
100%

Артикул

Название

Примечание

Количество

|1

20D-03-41200

RADIATOR ASS'Y

1

20D-03-41410

OIL COOLER ASS'Y

2

20D-03-41420

RADIATOR CORE ASS'Y

3

203-03-41280

CAP

4

205-03-62660

PLUG

|4

07000-01007

O-RING

5

203-03-41410

HOSE

6

07280-01010

CLAMP

7

01010-50816

BOLT

8

01643-30823

WASHER

9

01010-51025

BOLT

10

01643-31032

WASHER

11

20D-03-41472

SHROUD

12

01010-50816

BOLT

13

01643-30823

WASHER

14

20D-03-41141

NET

15

01010-51025

BOLT

16

01643-31032

WASHER

17

20D-03-41550

BRACKET

18

203-03-41422

BRACKET

19

203-03-41432

BRACKET

20

01010-50820

BOLT

21

01643-30823

WASHER

22

01010-51025

BOLT

23

01643-31032

WASHER

24

203-03-41480

SHEET

25

20D-03-41610

CUSHION

26

20D-03-41510

CUSHION

27

20D-03-41520

CUSHION

28

20D-03-41531

CUSHION

29

20D-03-41541

CUSHION

30

20D-03-41690

CUSHION

31

20D-03-41680

CUSHION

32

20D-03-41670

SHEET

33

20D-03-41731

SHEET

Выбрано товаров: 35