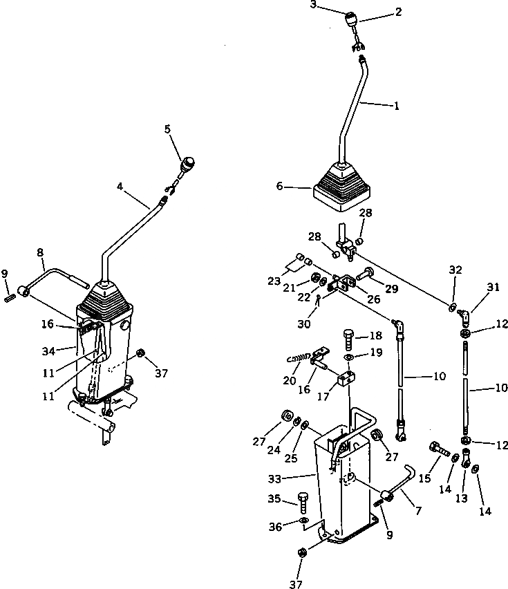
Запчасти Komatsu PF3W-1 РЫЧАГ УПРАВЛЕНИЯ РАБОЧИМ ОБОРУДОВАНИЕМ СИСТЕМА УПРАВЛЕНИЯ И ОСНОВНАЯ РАМА

Схема запчастей Komatsu PF3W-1 - РЫЧАГ УПРАВЛЕНИЯ РАБОЧИМ ОБОРУДОВАНИЕМ СИСТЕМА УПРАВЛЕНИЯ И ОСНОВНАЯ РАМА
FIT
1:1
100%

Артикул

Название

Примечание

Количество

1

22C-43-12131

LEVER,L.H.

2

205-966-6960

SWITCH

3

205-966-3980

CAP

4

20D-43-41121

LEVER,R.H.

5

203-06-42130

SWITCH,HORN

6

20X-43-21730

BOOT

7

203-43-43590

LEVER,L.H.

8

20D-43-41171

LEVER,R.H.

9

04025-00520

PIN,SPRING

10

04245-41031

ROD

11

04245-41029

ROD

12

01582-11008

NUT

13

04250-41056

END,ROD

14

01643-31032

WASHER

15

01010-51030

BOLT

16

203-43-43610

LEVER

17

205-43-62330

BLOCK

18

01010-50840

BOLT

19

01643-30823

WASHER

20

203-43-21370

SPRING

21

01582-11008

NUT

22

01643-31032

WASHER

23

203-43-31420

BUSHING

24

04064-01410

RING,SNAP

25

01641-21423

WASHER

26

205-43-52140

YOKE

27

09415-02512

CAP

28

203-43-31420

BUSHING

29

04205-01450

PIN

30

04050-14022

PIN,COTTER

31

207-43-11170

JOINT

32

01643-31032

WASHER

33

22C-43-12120

STAND,L.H.

34

20D-43-41610

STAND,R.H.

35

01010-51230

BOLT

36

01643-31232

WASHER

37

08037-01008

GROMMET

Выбрано товаров: 37