Запчасти Komatsu PF3W-1 МЕХ-М УПРАВЛ-Я РАБОЧ. ОБОРУД-EM (/) СИСТЕМА УПРАВЛЕНИЯ И ОСНОВНАЯ РАМА

Схема запчастей Komatsu PF3W-1 - МЕХ-М УПРАВЛ-Я РАБОЧ. ОБОРУД-EM (/) СИСТЕМА УПРАВЛЕНИЯ И ОСНОВНАЯ РАМА
FIT
1:1
100%

Артикул

Название

Примечание

Количество

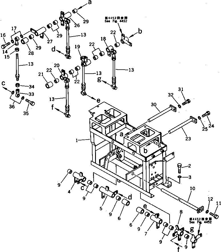
1

22C-43-12110

BRACKET

2

01010-51225

BOLT

3

01643-31232

WASHER

4

22C-43-12350

LEVER

5

22C-43-12340

LEVER

6

203-43-42770

PIPE

7

22C-43-12330

LEVER

8

22C-43-12220

LEVER

|8

22C-43-12320

LEVER

9

195-61-34130

BEARING

10

20D-43-41240

SHAFT

11

01010-51025

BOLT

12

01643-31032

WASHER

13

04248-31028

ROD

14

04250-61056

END,ROD

15

01508-41006

NUT

16

01010-51030

BOLT

17

01643-31032

WASHER

18

20D-43-41262

LEVER

19

203-43-43442

LEVER

20

203-43-41222

LEVER

21

203-43-43180

SPACER

22

195-61-34130

BEARING

23

203-43-41272

SHAFT

24

01010-51025

BOLT

25

01643-31032

WASHER

26

203-43-43452

LEVER

27

203-43-41262

LEVER

28

203-43-43180

SPACER

29

195-61-34130

BEARING

30

203-43-41272

SHAFT

31

01010-51025

BOLT

32

01643-31032

WASHER

33

04250-41056

END,ROD

34

01582-11008

NUT

35

01010-51030

BOLT

36

01643-31032

WASHER

Выбрано товаров: 0