Запчасти Komatsu PF3W-1 РАБОЧЕЕ ОБОРУДОВАНИЕ ПЕДАЛЬ УПРАВЛ-Я И МЕХАНИЗМ (/) (ДЛЯ 2-Я СТРЕЛА) СИСТЕМА УПРАВЛЕНИЯ И ОСНОВНАЯ РАМА

Схема запчастей Komatsu PF3W-1 - РАБОЧЕЕ ОБОРУДОВАНИЕ ПЕДАЛЬ УПРАВЛ-Я И МЕХАНИЗМ (/) (ДЛЯ 2-Я СТРЕЛА) СИСТЕМА УПРАВЛЕНИЯ И ОСНОВНАЯ РАМА
FIT
1:1
100%

Артикул

Название

Примечание

Количество

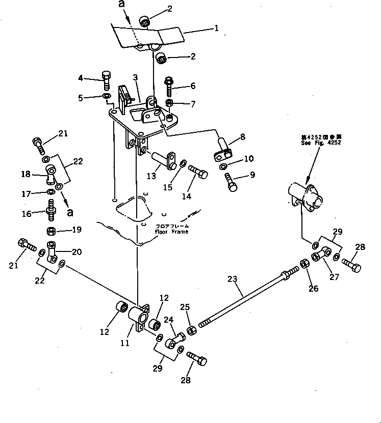
1

22C-43-11311

PEDAL

2

195-61-41260

BEARING

3

22C-43-11321

BRACKET

4

01010-51025

BOLT

5

01643-31032

WASHER

6

01439-00820

BOLT

7

01580-10806

NUT

8

22C-43-11330

SHAFT

9

01010-51020

BOLT

10

01643-31032

WASHER

11

22C-43-11341

LEVER

12

195-61-41260

BEARING

13

22C-43-11330

SHAFT

14

01010-51020

BOLT

15

01643-31032

WASHER

16

176-76-27130

JOINT

17

01643-31032

WASHER

18

04250-71056

END,ROD¤ L.H.THREAD

19

01583-11006

NUT

20

04250-51056

END,ROD

21

01010-51030

BOLT

22

01643-31032

WASHER

23

04248-31039

ROD

24

04250-71056

END,ROD¤ L.H.THREAD

25

01508-41006

NUT,L.H. THREAD

26

01582-11008

NUT

27

04250-51056

END

28

01010-51030

BOLT

29

01643-31032

WASHER

Выбрано товаров: 29