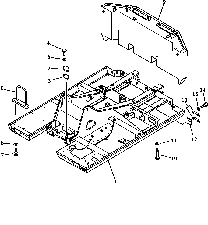
Запчасти Komatsu PF3W-1 ОСНОВНАЯ РАМА СИСТЕМА УПРАВЛЕНИЯ И ОСНОВНАЯ РАМА

Схема запчастей Komatsu PF3W-1 - ОСНОВНАЯ РАМА СИСТЕМА УПРАВЛЕНИЯ И ОСНОВНАЯ РАМА
FIT
1:1
100%

Артикул

Название

Примечание

Количество

1

22C-46-11111

FRAME

2

203-46-31131

COVER

3

203-46-31181

GASKET

4

01010-51230

BOLT

5

01643-31232

WASHER

6

20D-46-41192

STAY

7

01010-51235

BOLT

8

01643-31232

WASHER

9

20D-46-41212

WEIGHT

10

203-46-31221

BOLT

11

01643-33690

WASHER

12

20D-46-41150

SHEET

13

20D-46-41160

CLAMP

14

01010-50820

BOLT

15

01643-30823

WASHER

Выбрано товаров: 15