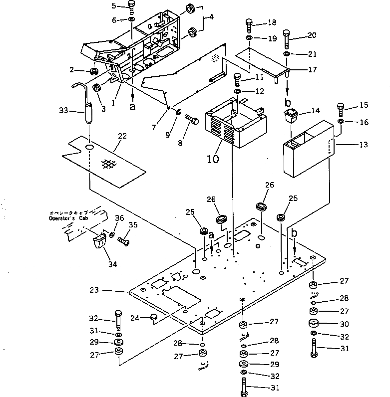
Запчасти Komatsu PF3W-1 ОСНОВН. КОНСТРУКЦИЯ ЧАСТИ КОРПУСА

Схема запчастей Komatsu PF3W-1 - ОСНОВН. КОНСТРУКЦИЯ ЧАСТИ КОРПУСА
FIT
1:1
100%

Артикул

Название

Примечание

Количество

1

22C-54-11141

BOX,R.H.

2

08037-02512

GROMMET

3

08037-03614

GROMMET

4

08037-05016

GROMMET

5

01010-51025

BOLT

6

01643-31032

WASHER

7

20D-54-43122

COVER

8

01010-50816

BOLT

9

01643-30823

WASHER

10

20D-54-43144

BRACKET

|10

20D-54-43143

BRACKET

11

01010-51225

BOLT

12

01643-31232

WASHER

13

20D-54-43131

BOX,L.H.

14

20G-54-13420

ASHTRAY

15

01010-51020

BOLT

16

01643-31032

WASHER

17

20D-54-43211

COVER

18

01010-51016

BOLT

19

01643-31032

WASHER

20

01010-51080

BOLT

21

01643-31032

WASHER

22

22C-54-11120

MAT,FLOOR

23

22C-54-11110

FRAME,FLOOR

24

09415-02520

CAP

25

08037-03614

GROMMET

26

176-911-4160

GROMMET

27

203-54-21110

CUSHION

28

07000-03025

O-RING

29

205-54-51950

PLATE

30

201-54-21860

COLLAR

31

01010-51675

BOLT

32

01643-31645

WASHER

33

22C-54-11150

PIN

34

201-54-23211

ASHTRAY

35

01370-00410

SCREW

36

01611-04045

WASHER

Выбрано товаров: 37