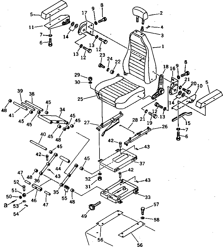
Запчасти Komatsu PF3W-1 СИДЕНЬЕ ОПЕРАТОРА(№-) ЧАСТИ КОРПУСА

Схема запчастей Komatsu PF3W-1 - СИДЕНЬЕ ОПЕРАТОРА(№-) ЧАСТИ КОРПУСА
FIT
1:1
100%

Артикул

Название

Примечание

Количество

|1

22C-57-00010

OPERATOR'S SEAT A.

|1

205-57-00072

SEAT ASS'Y

1

205-57-72321

CUSHION,BACK

2

205-57-72411

REST,HEAD

3

HOLDER

4

SPRING

5

205-57-72341

REST,ARM

6

01010-50835

BOLT

7

01602-20825

WASHER,SPRING

8

01010-51020

BOLT

9

01602-21030

WASHER

10

205-57-72441

SUPPORT,L.H.

11

205-57-72451

SUPPORT,R.H.

12

01010-51220

BOLT

13

01643-31232

WASHER

14

175-54-27350

SPRING

15

205-57-72590

SEAL

16

205-57-72361

BRACKET,L.H.

17

205-57-72371

BRACKET,R.H.

18

205-57-63510

LEVER

19

01010-51020

BOLT

20

01010-51050

BOLT

21

01602-21030

WASHER

22

203-57-21330

SPACER

23

01010-51020

BOLT

24

01602-21030

WASHER,SPRING

|25

205-57-00023

CUSHION ASS'Y

25

CUSHION

26

ADJUSTER

27

ADJUSTER

28

BAR

29

NUT

30

WASHER

31

01580-11210

NUT

32

01643-31232

WASHER

|33

20D-57-41310

STAND ASS'Y

33

203-57-41121

BRACKET

34

203-57-41171

LINK

35

203-57-41181

LINK

36

203-57-41191

LINK

37

20D-57-41320

BRACKET

38

205-57-63160

PIN

39

205-57-63170

PIN

40

205-57-63180

PIN

41

205-57-63190

PIN

42

207-57-11240

PIN

43

04050-11610

PIN,COTTER

44

205-57-72560

COLLAR

45

203-57-21280

BUSHING

46

205-57-72570

BAR

47

207-57-11220

PIN

48

203-57-21310

ROLLER

49

203-57-41112

KNOB

50

01643-31445

WASHER

51

205-57-72580

NUT

52

205-57-63250

PIN

53

01641-20608

WASHER

54

04050-11610

PIN,COTTER

55

203-57-21320

SHIM¤ 0.5MM

56

20D-57-41330

PLATE

57

01010-51230

BOLT

58

01643-31232

WASHER

Выбрано товаров: 62