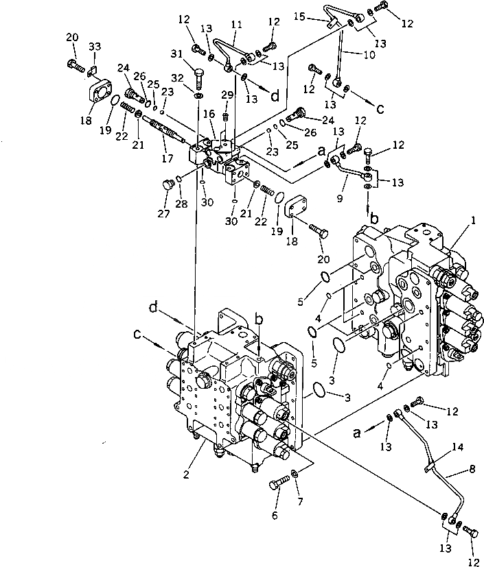
Запчасти Komatsu PF5-1 УПРАВЛЯЮЩ. КЛАПАН (/7) УПРАВЛ-Е РАБОЧИМ ОБОРУДОВАНИЕМ

Схема запчастей Komatsu PF5-1 - УПРАВЛЯЮЩ. КЛАПАН (/7) УПРАВЛ-Е РАБОЧИМ ОБОРУДОВАНИЕМ
FIT
1:1
100%

Артикул

Название

Примечание

Количество

|1

709-79-12506

CONTROL VALVE ASS'Y

|1

709-79-12505

CONTROL VALVE ASS'Y

|1

709-79-12504

CONTROL VALVE ASS'Y

|1

709-79-12503

CONTROL VALVE ASS'Y

|1

709-79-12502

CONTROL VALVE ASS'Y

|1

709-79-12501

CONTROL VALVE ASS'Y

|1

709-79-12500

CONTROL VALVE ASS'Y

1

709-75-92402

VALVE ASS'Y

|1

709-75-92401

VALVE ASS'Y

|1

709-75-92400

VALVE ASS'Y

2

709-74-92106

VALVE ASS'Y

|2

709-74-92105

VALVE ASS'Y

|2

709-74-92104

VALVE ASS'Y

3

07000-13038

O-RING

4

07000-02010

O-RING

5

07000-13028

O-RING

6

01010-51040

BOLT

7

01643-31032

WASHER

8

709-79-11130

TUBE

9

709-79-11110

TUBE

10

709-79-11140

TUBE

11

709-79-11120

TUBE

12

07206-30508

BOLT,JOINT

13

07005-00812

GASKET

14

08036-31210

CLIP

15

08036-31214

CLIP

|16

709-70-91102

SHUTTLE VALVE ASS'Y

16

BODY

17

SPOOL

18

709-70-91150

PLATE

19

07000-13025

O-RING

20

01010-50825

BOLT

21

706-73-77140

PLATE

22

709-70-91130

SPRING

23

04260-00793

BALL

24

709-70-91170

PLUG

25

07000-01007

O-RING

26

07002-01423

O-RING

27

07040-11409

PLUG

28

07002-01423

O-RING

29

07043-70108

PLUG

30

07000-11009

O-RING

31

01010-50855

BOLT

32

01643-30823

WASHER

33

08036-30810

CLIP

Выбрано товаров: 45