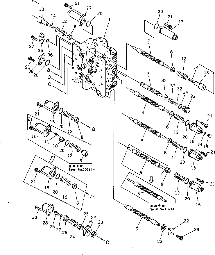
Запчасти Komatsu PF5-1 УПРАВЛЯЮЩ. КЛАПАН (/7) УПРАВЛ-Е РАБОЧИМ ОБОРУДОВАНИЕМ

Схема запчастей Komatsu PF5-1 - УПРАВЛЯЮЩ. КЛАПАН (/7) УПРАВЛ-Е РАБОЧИМ ОБОРУДОВАНИЕМ
FIT
1:1
100%

Артикул

Название

Примечание

Количество

|1

709-79-12506

CONTROL VALVE ASS'Y

|1

709-79-12505

CONTROL VALVE ASS'Y

|1

709-79-12504

CONTROL VALVE ASS'Y

|1

709-79-12503

CONTROL VALVE ASS'Y

|1

709-79-12502

CONTROL VALVE ASS'Y

|1

709-79-12501

CONTROL VALVE ASS'Y

|1

709-79-12500

CONTROL VALVE ASS'Y

|1

709-75-92402

VALVE ASS'Y

|1

709-75-92401

VALVE ASS'Y

|1

709-75-92400

VALVE ASS'Y

1

BODY,VALVE

2

SPOOL,SWING

3

SPOOL,BOOM HIGH

4

SPOOL,SERVICE

5

SPOOL,ARM

|5

SPOOL,ARM

6

SPOOL,L.H. TRAVEL

7

SPOOL

8

709-74-92110

RETAINER

|8

709-74-92110

RETAINER

9

709-74-91990

RETAINER

10

709-74-91970

SLEEVE

12

709-74-92180

SPRING

13

709-74-92420

RETAINER

14

709-74-92430

SPRING

15

709-74-92120

CASE

|15

709-74-92120

CASE

16

709-74-91980

CASE

17

709-74-92580

CASE

18

07040-11409

PLUG

19

07002-01423

O-RING

20

709-74-92170

O-RING

21

01252-30820

BOLT

22

709-75-92110

PLATE

23

709-75-92120

SEAL

24

709-75-92180

SPRING

25

709-75-92130

RETAINER

26

01252-30812

BOLT

27

01643-30823

WASHER

28

709-25-92140

CASE

29

01252-30812

BOLT

30

01252-30825

BOLT

31

709-74-92210

SPRING

32

709-74-92270

WASHER

33

709-74-92230

PLUG

34

07002-03034

O-RING

35

709-74-92260

PLATE

36

07000-02018

O-RING

37

01252-30820

BOLT

38

709-74-92590

PLATE

Выбрано товаров: 50