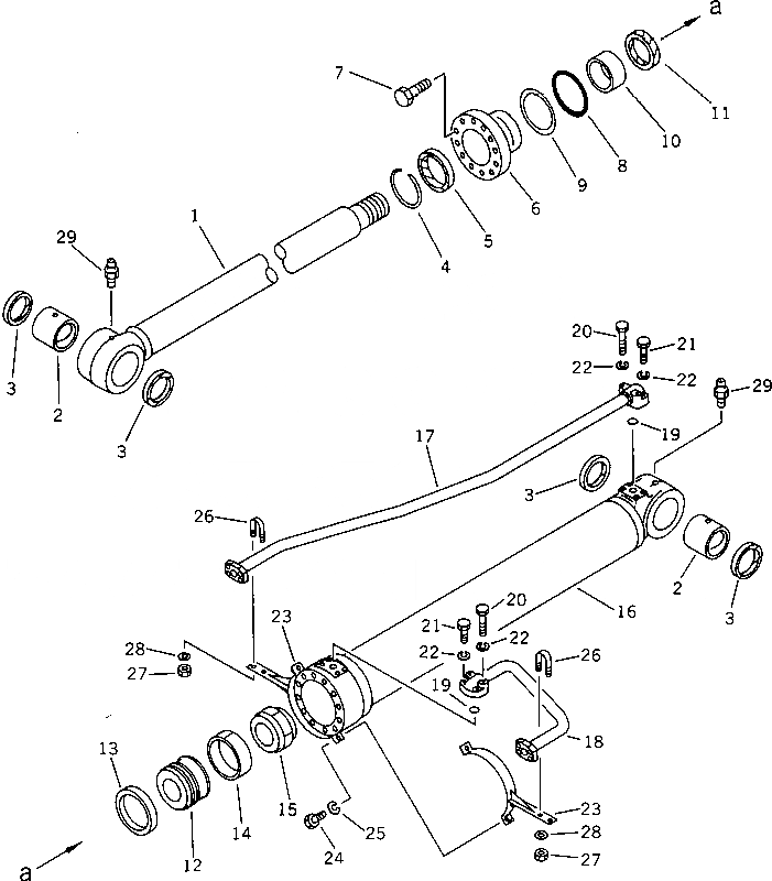
Запчасти Komatsu PF5-1 ЦИЛИНДР 2-Й СТРЕЛЫ УПРАВЛ-Е РАБОЧИМ ОБОРУДОВАНИЕМ

Схема запчастей Komatsu PF5-1 - ЦИЛИНДР 2-Й СТРЕЛЫ УПРАВЛ-Е РАБОЧИМ ОБОРУДОВАНИЕМ
FIT
1:1
100%

Артикул

Название

Примечание

Количество

|1

205-63-52901

BOOM CYLINDER ASS'Y

|1

205-63-52900

BOOM CYLINDER ASS'Y

1

205-63-52921

ROD,PISTON

2

707-76-80010

BUSHING

3

07145-00080

SEAL,DUST

4

07179-00113

RING,SNAP

5

195-63-94170

SEAL,DUST

6

707-27-13771

HEAD,CYLINDER

7

01010-81655

BOLT

8

07000-12125

O-RING

9

07146-02126

RING,BACK-UP

10

07177-09040

BUSHING

11

707-51-90211

PACKING,ROD

12

707-36-13462

PISTON

13

707-44-13080

RING,PISTON

14

07155-01330

RING,WEAR

15

707-68-10680

NUT

16

205-63-52940

CYLINDER

17

205-966-3592

TUBE

|17

205-966-3590

TUBE

18

205-63-52970

TUBE

19

07000-13030

O-RING

20

01010-50855

BOLT

21

01010-50845

BOLT

22

01602-20825

WASHER,SPRING

23

707-88-96380

BRACKET

24

01010-51035

BOLT

25

01602-21030

WASHER,SPRING

26

07283-22738

CLIP

27

01599-01011

NUT

28

01643-31032

WASHER

29

07020-00000

FITTING

Выбрано товаров: 32