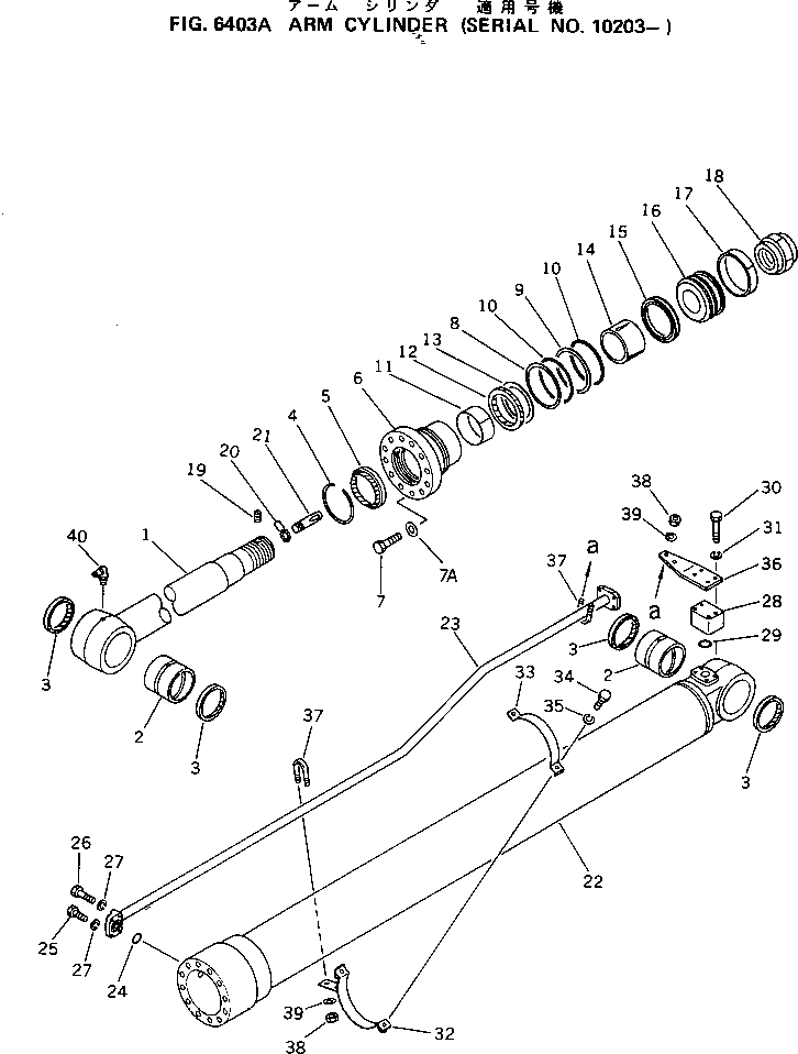
Запчасти Komatsu PF5-1 ЦИЛИНДР РУКОЯТИ(№-) УПРАВЛ-Е РАБОЧИМ ОБОРУДОВАНИЕМ

Схема запчастей Komatsu PF5-1 - ЦИЛИНДР РУКОЯТИ(№-) УПРАВЛ-Е РАБОЧИМ ОБОРУДОВАНИЕМ
FIT
1:1
100%

Артикул

Название

Примечание

Количество

|1

205-63-69300

ARM CYLINDER ASS'Y

|1

205-63-69310

CYLINDER SUB ASS'Y

1

205-63-69320

..ROD,PISTON

2

707-76-80010

..BUSHING

3

07145-00080

..SEAL,DUST

4

07179-13109

..RING,SNAP

5

707-56-95510

..SEAL,DUST

6

707-28-13261

..HEAD,CYLINDER

7

01010-81670

..BOLT

7A

01643-51645

..WASHER

8

707-35-91320

..RING,BACK-UP

9

707-35-91330

..RING,BACK-UP

10

07000-15120

..O-RING

11

707-52-10950

..BUSHING

12

707-51-95030

..PACKING,ROD

13

707-51-95630

..RING,BUFFER

14

707-71-50011

..PLUNGER

15

707-44-13180

..RING,PISTON

16

707-36-13440

..PISTON

17

707-39-13110

..RING,WEAR

18

707-68-10680

..NUT

19

707-71-91250

..SCREW

20

04260-00635

..BALL

21

707-71-50252

..PLUNGER

22

205-63-62141

..CYLINDER

23

205-63-62170

.TUBE

24

07000-13030

.O-RING

25

01010-50845

.BOLT

26

01010-50855

.BOLT

27

01602-20825

.WASHER,SPRING

28

20D-62-17860

.ELBOW

29

07000-13035

.O-RING

30

01010-51080

.BOLT

31

01602-21030

.WASHER,SPRING

32

707-88-99360

.BAND

33

707-88-99310

.BAND

34

01010-51030

.BOLT

35

01602-21030

.WASHER,SPRING

36

707-88-10820

.PLATE

37

07283-22738

.CLIP

38

01599-01011

.NUT

39

01643-31032

.WASHER

40

07020-00900

.FITTING,GREASE

Выбрано товаров: 43