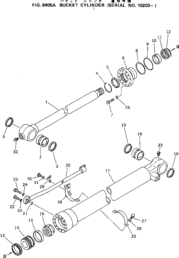
Запчасти Komatsu PF5-1 ЦИЛИНДР КОВША(№-) УПРАВЛ-Е РАБОЧИМ ОБОРУДОВАНИЕМ

Схема запчастей Komatsu PF5-1 - ЦИЛИНДР КОВША(№-) УПРАВЛ-Е РАБОЧИМ ОБОРУДОВАНИЕМ
FIT
1:1
100%

Артикул

Название

Примечание

Количество

|1

205-63-79300

BUCKET CYLINDER A.

|1

205-63-79310

CYLINDER SUB ASS'Y

1

205-63-79320

ROD,PISTON

2

707-76-70120

BUSHING

3

21K-70-12180

SEAL,DUST

4

07179-13089

RING,SNAP

5

144-63-94170

SEAL,DUST

6

707-27-11391

HEAD,CYLINDER

7

01010-81660

BOLT

7A

01643-51645

WASHER

8

707-35-91120

RING,BACK-UP

9

07000-15100

O-RING

10

07177-07530

BUSHING

11

707-51-75030

PACKING,ROD

12

707-51-75630

RING,BUFFER

13

707-44-11180

RING,PISTON

14

707-36-11430

PISTON

15

707-39-11110

RING,WEAR

16

707-68-10580

NUT

17

205-63-72141

CYLINDER

18

707-76-70110

BUSHING

19

07145-00070

SEAL,DUST

20

205-63-72170

TUBE

21

07000-13030

O-RING

22

01010-50845

BOLT

23

01010-50855

BOLT

24

01602-20825

WASHER,SPRING

25

707-88-99110

BAND

26

707-88-99160

BAND

27

01010-51035

BOLT

28

01602-21030

WASHER,SPRING

29

07282-02793

CLAMP

30

01010-51020

BOLT

31

01602-21030

WASHER,SPRING

32

07020-00000

FITTING,GREASE

33

07020-00900

FITTING,GREASE

Выбрано товаров: 36