Запчасти Komatsu PF5-1 ГИДРОЛИНИЯ (ВОЗВРАТ.)(№-) УПРАВЛ-Е РАБОЧИМ ОБОРУДОВАНИЕМ

Схема запчастей Komatsu PF5-1 - ГИДРОЛИНИЯ (ВОЗВРАТ.)(№-) УПРАВЛ-Е РАБОЧИМ ОБОРУДОВАНИЕМ
FIT
1:1
100%

Артикул

Название

Примечание

Количество

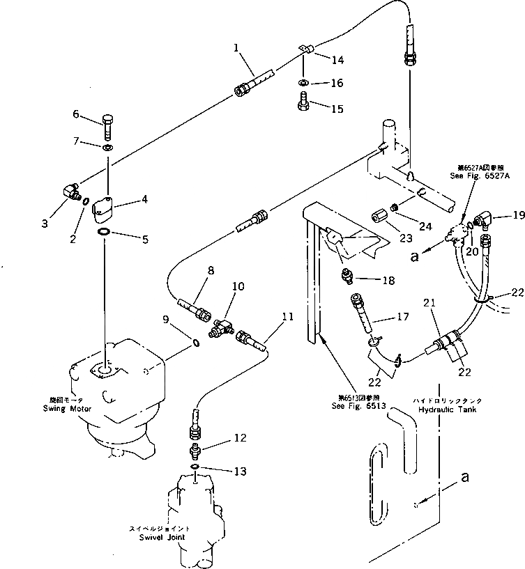
1

205-62-72840

HOSE

2

07002-02434

O-RING

3

07235-10628

ELBOW

4

205-62-72470

FLANGE

5

07000-03045

O-RING

6

01010-51265

BOLT

7

01643-31232

WASHER

8

205-62-71282

HOSE

9

07002-02034

O-RING

10

209-62-27580

TEE

11

205-62-71290

HOSE

12

07230-10315

UNION

13

07002-02034

O-RING

14

08036-03014

CLIP

15

01010-51020

BOLT

16

01643-31032

WASHER

17

07102-20307

HOSE

18

236-60-24441

NIPPLE

19

07235-10315

ELBOW

20

07002-01423

O-RING

21

205-62-72140

COVER

22

08034-00519

BAND

23

07221-20315

NUT

24

07222-00312

PLUG

Выбрано товаров: 24