Запчасти Komatsu PF5-1 КОВШ¤ .M¤ ШИР. 8MM РАБОЧЕЕ ОБОРУДОВАНИЕ

Схема запчастей Komatsu PF5-1 - КОВШ¤ .M¤ ШИР. 8MM РАБОЧЕЕ ОБОРУДОВАНИЕ
FIT
1:1
100%

Артикул

Название

Примечание

Количество

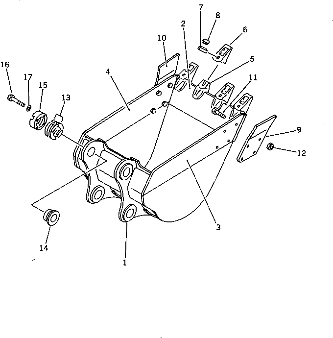
1

205-966-7161

BUCKET

2

205-966-7171

PLATE (WELDED)

3

205-70-74162

PLATE,L.H. (WELDED)

4

205-70-74172

PLATE,R.H. (WELDED)

5

205-70-74261

ADAPTER (WELDED)

6

205-70-74272

TOOTH

7

205-70-74281

PIN

8

205-70-74291

LOCK

9

205-70-74180

CUTTER,L.H.

10

205-70-74190

CUTTER,R.H.

11

176-32-11210

BOLT¤ SHOE

12

01803-02430

NUT

13

205-70-00101

SHIM ASS'Y

|13

SHIM¤ 0.5MM

|13

SHIM¤ 1.0MM

14

205-70-74381

SPACER

15

205-70-74391

PLATE

16

01010-52055

BOLT

17

01643-32060

WASHER

Выбрано товаров: 0