Запчасти Komatsu PF5-1 ПЕДАЛЬ УПРАВЛ-Я И МЕХАНИЗМ (/) (ДЛЯ 2-Я СТРЕЛА) ПОВОРОТН. И СИСТЕМА УПРАВЛЕНИЯ

Схема запчастей Komatsu PF5-1 - ПЕДАЛЬ УПРАВЛ-Я И МЕХАНИЗМ (/) (ДЛЯ 2-Я СТРЕЛА) ПОВОРОТН. И СИСТЕМА УПРАВЛЕНИЯ
FIT
1:1
100%

Артикул

Название

Примечание

Количество

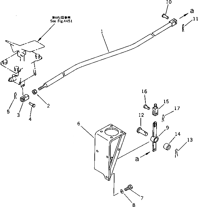
1

205-966-4141

ROD

|1

205-966-4140

ROD

2

01580-11008

NUT

3

04210-21040

YOKE

4

04205-11028

PIN

5

04052-01038

PIN,SNAP

6

205-966-4150

BRACKET

7

01010-51230

BOLT

8

01643-31232

WASHER

9

205-966-4160

LEVER

10

04205-11028

PIN

11

04052-01038

PIN,SNAP

12

205-966-4170

PIN

13

04050-15030

PIN,COTTER

14

195-61-34130

BEARING

15

205-966-4180

YOKE

16

04205-11028

PIN

17

04052-01038

PIN,SNAP

Выбрано товаров: 18