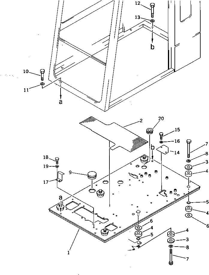
Запчасти Komatsu PF5LC-1 КАБИНА¤ ОСНОВН. КОНСТРУКЦИЯ ОСНОВНАЯ РАМА И КАБИНА

Схема запчастей Komatsu PF5LC-1 - КАБИНА¤ ОСНОВН. КОНСТРУКЦИЯ ОСНОВНАЯ РАМА И КАБИНА
FIT
1:1
100%

Артикул

Название

Примечание

Количество

1

205-966-5130

FRAME,FLOOR

2

205-966-5120

MAT,FLOOR

3

205-54-71691

PLATE

4

205-54-71680

CUSHION

5

07000-03028

O-RING

6

205-54-72640

SPACER

7

01010-51690

BOLT

8

01643-31645

WASHER

9

09415-05016

CAP

10

01010-51250

BOLT

11

01643-31232

WASHER

12

01010-51270

BOLT

13

01643-31232

WASHER

14

205-06-71771

PLATE

15

01010-51020

BOLT

16

01643-31032

WASHER

17

205-966-4870

BRACKET

18

01010-51025

BOLT

19

01643-31032

WASHER

20

08037-05016

GROMMET

Выбрано товаров: 20