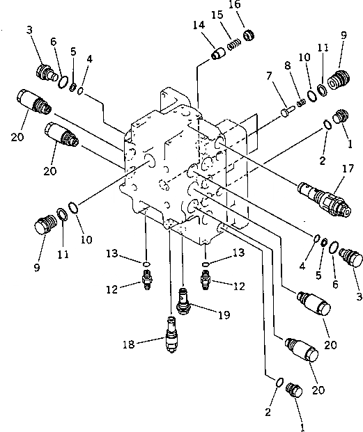
Запчасти Komatsu PF5LC-1 УПРАВЛЯЮЩ. КЛАПАН (/7) УПРАВЛ-Е РАБОЧИМ ОБОРУДОВАНИЕМ

Схема запчастей Komatsu PF5LC-1 - УПРАВЛЯЮЩ. КЛАПАН (/7) УПРАВЛ-Е РАБОЧИМ ОБОРУДОВАНИЕМ
FIT
1:1
100%

Артикул

Название

Примечание

Количество

|1

709-79-12506

CONTROL VALVE ASS'Y

|1

709-79-12505

CONTROL VALVE ASS'Y

|1

709-79-12504

CONTROL VALVE ASS'Y

|1

709-79-12503

CONTROL VALVE ASS'Y

|1

709-79-12502

CONTROL VALVE ASS'Y

|1

709-79-12501

CONTROL VALVE ASS'Y

|1

709-79-12500

CONTROL VALVE ASS'Y

|1

709-74-92106

VALVE ASS'Y

|1

709-74-92105

VALVE ASS'Y

|1

709-74-92104

VALVE ASS'Y

1

700-22-11370

PLUG

2

07002-12434

O-RING

3

700-84-13960

PLUG

4

700-22-11410

O-RING

5

700-80-64220

RING,BACK-UP

6

07002-03034

O-RING

7

709-74-92810

VALVE,CHECK

|7

709-75-92210

VALVE,CHECK

8

709-75-92220

SPRING

9

709-74-92821

PLUG

|9

709-74-92820

PLUG

|9

709-75-92230

PLUG

10

700-93-11320

O-RING

11

700-93-11330

RING,BACK-UP

12

709-75-92240

UNION

13

07002-01623

O-RING

14

709-74-92281

VALVE

|14

709-74-92280

VALVE

15

709-74-92290

SPRING

16

709-74-92310

SEAT

17

709-70-51200

RELIEF VALVE ASS'Y

18

709-70-55103

RELIEF VALVE ASS'Y

|18

709-70-55900

RELIEF VALVE ASS'Y

|18

709-70-55102

RELIEF VALVE ASS'Y

|18

709-70-55101

RELIEF VALVE ASS'Y

19

709-70-91300

ORIFICE ASS'Y

20

709-70-61201

VALVE ASS'Y

|20

709-70-61200

VALVE ASS'Y

Выбрано товаров: 38