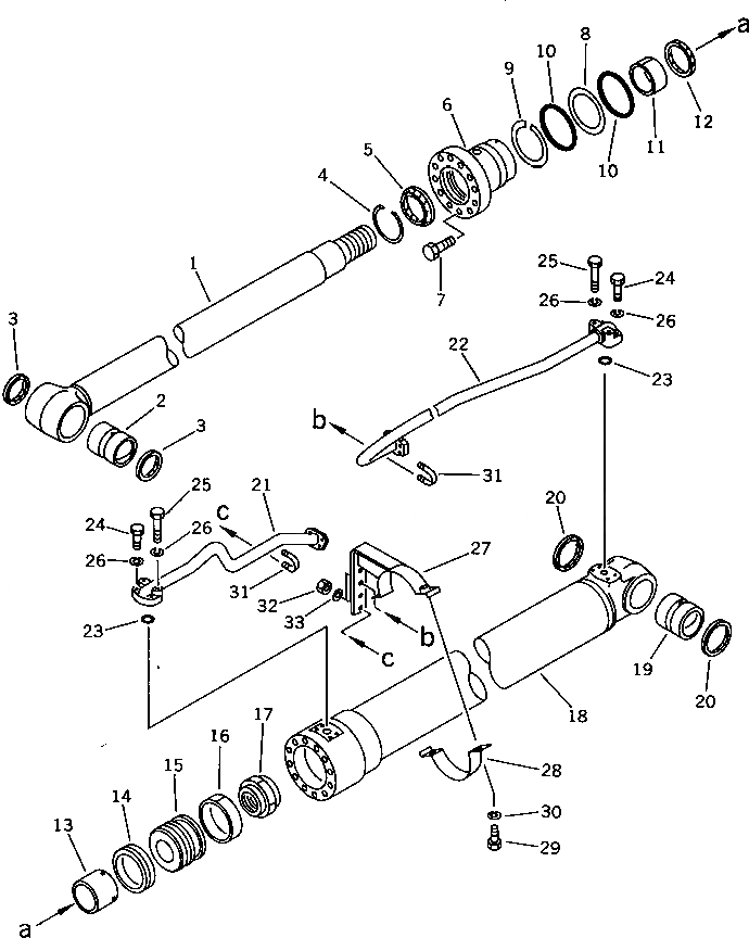
Запчасти Komatsu PF5LC-1 1-Я СТРЕЛА ЦИЛИНДР УПРАВЛ-Е РАБОЧИМ ОБОРУДОВАНИЕМ

Схема запчастей Komatsu PF5LC-1 - 1-Я СТРЕЛА ЦИЛИНДР УПРАВЛ-Е РАБОЧИМ ОБОРУДОВАНИЕМ
FIT
1:1
100%

Артикул

Название

Примечание

Количество

|1

205-63-52700

BOOM CYLINDER ASS'Y,L.H.

|1

205-63-52800

BOOM CYLINDER ASS'Y,R.H.

|1

205-63-52710

CYLINDER SUB ASS'Y

1

205-63-52720

ROD,PISTON

2

707-76-80010

BUSHING

3

07145-00080

SEAL,DUST

4

707-75-10020

RING,SNAP

5

707-56-85510

SEAL,DUST

6

707-28-12570

HEAD,CYLINDER

7

01010-81655

BOLT

8

07146-02116

RING,BACK-UP

9

707-35-91210

RING,BACK-UP

10

07000-12115

O-RING

11

707-52-10850

BUSHING

12

707-51-85211

PACKING,ROD

13

707-71-50911

PLUNGER

14

707-44-12080

RING,PISTON

15

707-36-12361

PISTON

16

07155-01230

RING,WEAR

17

707-68-10580

NUT

18

205-63-52740

CYLINDER

19

707-76-70110

BUSHING

20

07145-00070

SEAL,DUST

21

205-63-52770

TUBE,L.H.

|21

205-63-52870

TUBE,R.H.

22

205-966-6231

TUBE,L.H.

|22

205-966-6241

TUBE,R.H.

23

07000-13030

O-RING

24

01010-50845

BOLT

25

01010-50855

BOLT

26

01602-20825

WASHER,SPRING

27

205-966-6290

BRACKET

28

707-88-99210

BAND

29

01010-51035

BOLT

30

01602-21030

WASHER,SPRING

31

07283-22738

CLIP

32

01599-01011

NUT

33

01643-31032

WASHER

Выбрано товаров: 38