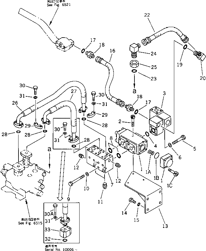
Запчасти Komatsu PF5LC-1 ГИДРОЛИНИЯ (ДЕЛИТЕЛЬ ПОТОКА - УПРАВЛЯЮЩ. КЛАПАН¤ДЛЯ РУКОЯТИ ROTATION) УПРАВЛ-Е РАБОЧИМ ОБОРУДОВАНИЕМ

Схема запчастей Komatsu PF5LC-1 - ГИДРОЛИНИЯ (ДЕЛИТЕЛЬ ПОТОКА - УПРАВЛЯЮЩ. КЛАПАН¤ДЛЯ РУКОЯТИ ROTATION) УПРАВЛ-Е РАБОЧИМ ОБОРУДОВАНИЕМ
FIT
1:1
100%

Артикул

Название

Примечание

Количество

1

205-966-3111

VALVE

1A

205-966-3970

SPRING

1B

205-966-3910

O-RING

1C

01252-31235

BOLT

2

01252-40865

BOLT

3

205-966-3161

ELBOW

4

07000-03035

O-RING

5

01010-51270

BOLT

6

01643-31232

WASHER

7

205-966-3171

BLOCK

8

07000-03028

O-RING

9

01010-51085

BOLT

10

01643-31032

WASHER

11

07042-00415

PLUG

12

07042-00312

PLUG

13

205-966-3181

BRACKET

14

01010-51225

BOLT

15

01643-31232

WASHER

16

07102-20504

HOSE

|16

07102-20505

HOSE

17

07002-02434

O-RING

18

07230-20522

UNION

|18

07230-10522

UNION

19

07002-02434

O-RING

20

07235-10522

ELBOW

22

07102-20504

HOSE

23

07002-03334

O-RING

24

362-60-13120

ELBOW

25

07239-23320

NUT

26

07098-00506

HOSE

27

07098-00505

HOSE

28

209-62-51240

O-RING

29

07371-30500

FLANGE,SPLIT

30

01010-50830

BOLT

|30

01010-50830

BOLT

30A

01010-50870

BOLT

31

01643-50823

WASHER

32

07000-13022

O-RING

33

205-966-6980

PLATE

Выбрано товаров: 39