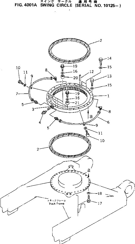
Запчасти Komatsu PF5LC-1 ПОВОРОТН. КРУГ(№-) ПОВОРОТН. И СИСТЕМА УПРАВЛЕНИЯ

Схема запчастей Komatsu PF5LC-1 - ПОВОРОТН. КРУГ(№-) ПОВОРОТН. И СИСТЕМА УПРАВЛЕНИЯ
FIT
1:1
100%

Артикул

Название

Примечание

Количество

1

205-25-71103

CIRCLE,SWING

2

205-25-71151

SEAL

3

205-25-71280

NIPPLE

4

07020-00000

FITTING,GREASE

5

07213-50813

CONNECTOR

6

205-25-71220

TUBE

7

205-25-71230

TUBE

8

207-70-11740

ELBOW

9

08036-00814

CLIP

10

01010-51016

BOLT

11

01643-31032

WASHER

12

04020-01842

PIN,DOWEL

13

205-25-71250

BOLT

14

205-25-71260

BOLT

15

01643-32260

WASHER

16

205-25-71270

WASHER

17

01018-32070

BOLT

18

01643-32060

WASHER

19

208-27-31371

BOLT

20

154-30-14130

SPACER

21

205-25-71290

COLLAR

Выбрано товаров: 21