Запчасти Komatsu PF5LC-1 УДЛИНН. РЫЧАГ СТОЙКА ПОВОРОТН. И СИСТЕМА УПРАВЛЕНИЯ

Схема запчастей Komatsu PF5LC-1 - УДЛИНН. РЫЧАГ СТОЙКА ПОВОРОТН. И СИСТЕМА УПРАВЛЕНИЯ
FIT
1:1
100%

Артикул

Название

Примечание

Количество

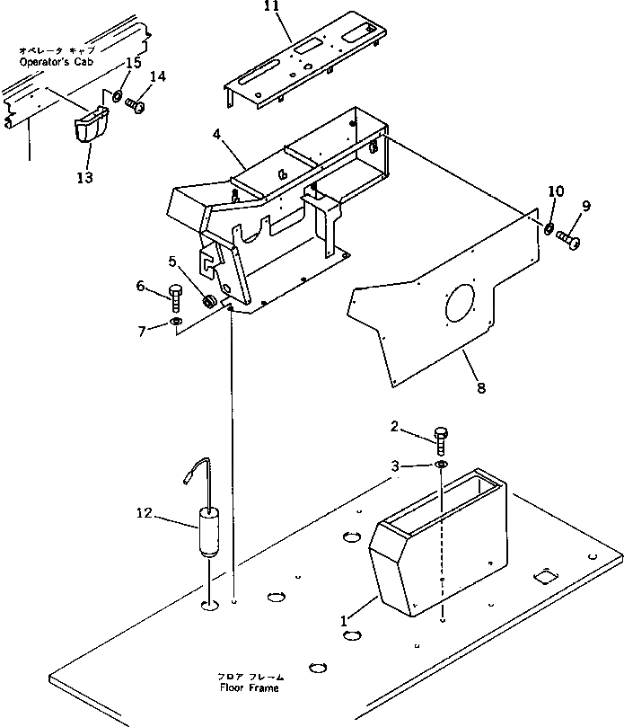
1

205-43-72474

BOX,L.H.

2

01010-51230

BOLT

3

01643-31232

WASHER

4

205-43-72415

BOX,R.H.

5

08037-02512

GROMMET

6

01010-51230

BOLT

7

01643-31232

WASHER

8

205-43-73212

COVER

9

01220-40816

SCREW

10

01640-20816

WASHER

11

205-43-72433

COVER

12

205-43-72492

PIN

13

201-54-23220

ASHTRAY

14

01370-00410

SCREW

15

01611-04045

WASHER

Выбрано товаров: 15