Запчасти Komatsu PF5LC-1 ПЕДАЛЬ УПРАВЛ-Я И МЕХАНИЗМ (/) (ДЛЯ 2-Я СТРЕЛА) ПОВОРОТН. И СИСТЕМА УПРАВЛЕНИЯ

Схема запчастей Komatsu PF5LC-1 - ПЕДАЛЬ УПРАВЛ-Я И МЕХАНИЗМ (/) (ДЛЯ 2-Я СТРЕЛА) ПОВОРОТН. И СИСТЕМА УПРАВЛЕНИЯ
FIT
1:1
100%

Артикул

Название

Примечание

Количество

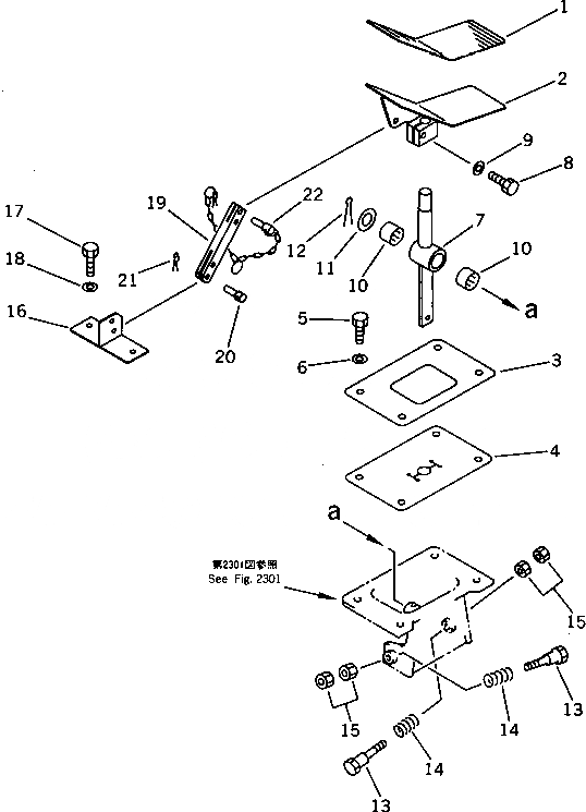
1

205-970-7240

SHEET

2

205-966-4780

PEDAL

3

205-966-4820

PLATE

4

205-966-4830

COVER

5

01010-51235

BOLT

6

01643-31232

WASHER

7

205-966-4131

LEVER

8

01010-50825

BOLT

9

01643-30823

WASHER

10

195-61-34130

BEARING

11

01640-02032

WASHER

12

04050-15030

PIN,COTTER

13

205-966-4880

BOLT

14

205-966-4740

SPRING

15

01583-11006

NUT

16

205-966-4790

BRACKET

17

01010-51025

BOLT

18

01643-31032

WASHER

19

205-966-4840

YOKE

20

207-970-3170

PIN

21

04052-00633

PIN,SNAP

22

207-970-3160

CHAIN

Выбрано товаров: 22