Запчасти Komatsu PF5LC-1 РАДИАТОР И МАСЛООХЛАДИТЕЛЬ КОМПОНЕНТЫ ДВИГАТЕЛЯ И ЭЛЕКТРИКА

Схема запчастей Komatsu PF5LC-1 - РАДИАТОР И МАСЛООХЛАДИТЕЛЬ КОМПОНЕНТЫ ДВИГАТЕЛЯ И ЭЛЕКТРИКА
FIT
1:1
100%

Артикул

Название

Примечание

Количество

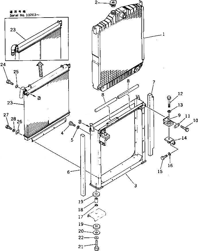
|1

205-03-00041

RADIATOR ASS'Y

|1

205-03-00040

RADIATOR ASS'Y

1

205-03-71111

CORE ASS'Y

|1

205-03-71110

CORE ASS'Y

2

205-03-71280

CAP ASS'Y

3

205-03-71131

FRAME

4

01010-50816

BOLT

5

01643-30823

WASHER

6

205-03-71362

SEAL

|6

205-03-71361

SEAL

7

205-03-71352

SEAL

|7

205-03-71351

SEAL

8

205-03-71381

SEAL

|8

205-03-71380

SEAL

9

205-03-71310

DAMPER ASS'Y

10

01010-51230

BOLT

11

205-03-71520

WASHER

12

01010-51260

BOLT

13

01643-31232

WASHER

14

205-03-71292

BRACKET

15

01010-51230

BOLT

16

01643-31232

WASHER

17

07000-03022

O-RING

18

205-03-71330

COLLAR

19

205-03-71470

CUSHION

20

205-03-71340

PLATE

21

01010-51270

BOLT

22

01643-31232

WASHER

23

205-03-71121

OIL COOLER ASS'Y

24

01010-50820

BOLT

25

01643-30823

WASHER

26

205-03-71390

PLATE

27

01010-50825

BOLT

28

01643-30823

WASHER

Выбрано товаров: 34